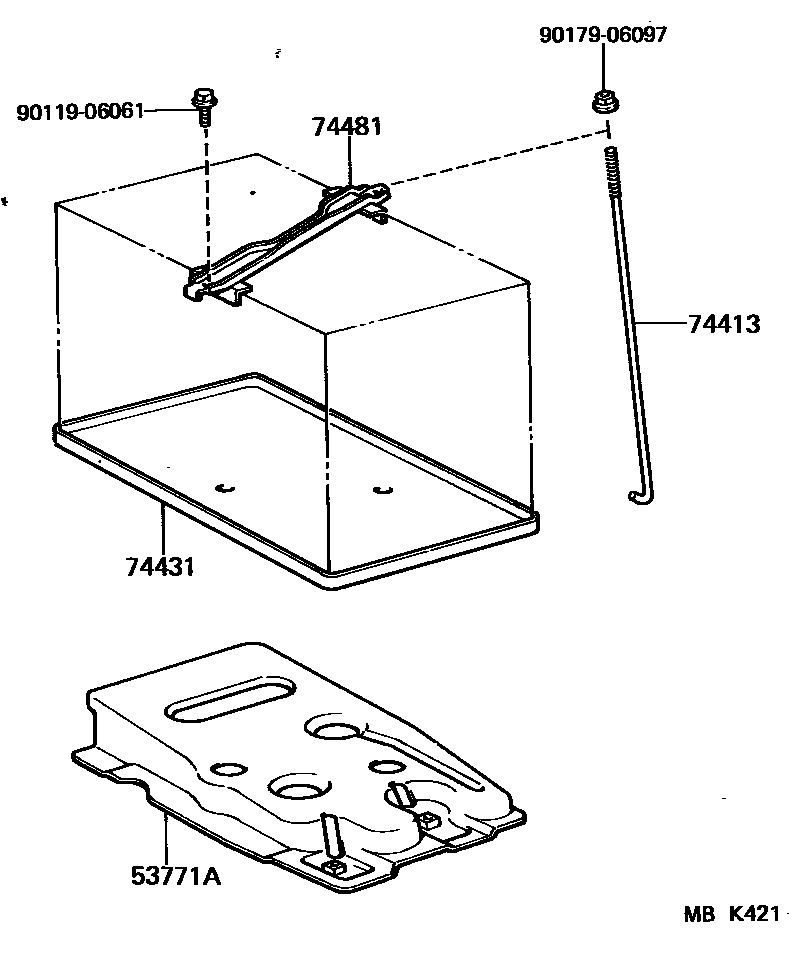
BATTERY CARRIER

53771ASUPPORT, BATTERY CARRIER
74413BOLT, BATTERY CLAMP
74431TRAY, BATTERY
N70ZL-MF
74481CLAMP, BATTERY HOLD DOWN
9011906061
main90119-06061
9017906097
main90179-06097
6 parts on this diagram · 1 diagram in section

6 parts on this diagram · 1 diagram in section