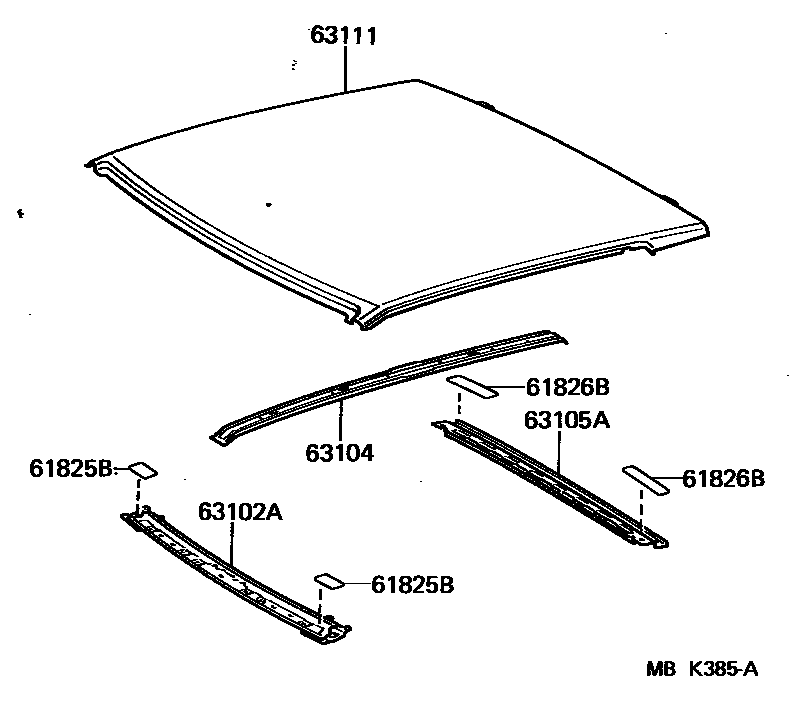
ROOF PANEL & BACK WINDOW GLASS

61825BPLATE, NOISE CONTROL, NO.2
61826BPLATE, NOISE CONTROL, NO.3
63102APANEL SUB-ASSY, WINDSHIELD HEADER
63104REINFORCEMENT SUB-ASSY, ROOF PANEL, CENTER
63105AFRAME SUB-ASSY, BACK DOOR OPENING
63111PANEL, ROOF
6 parts on this diagram · 2 diagrams in section