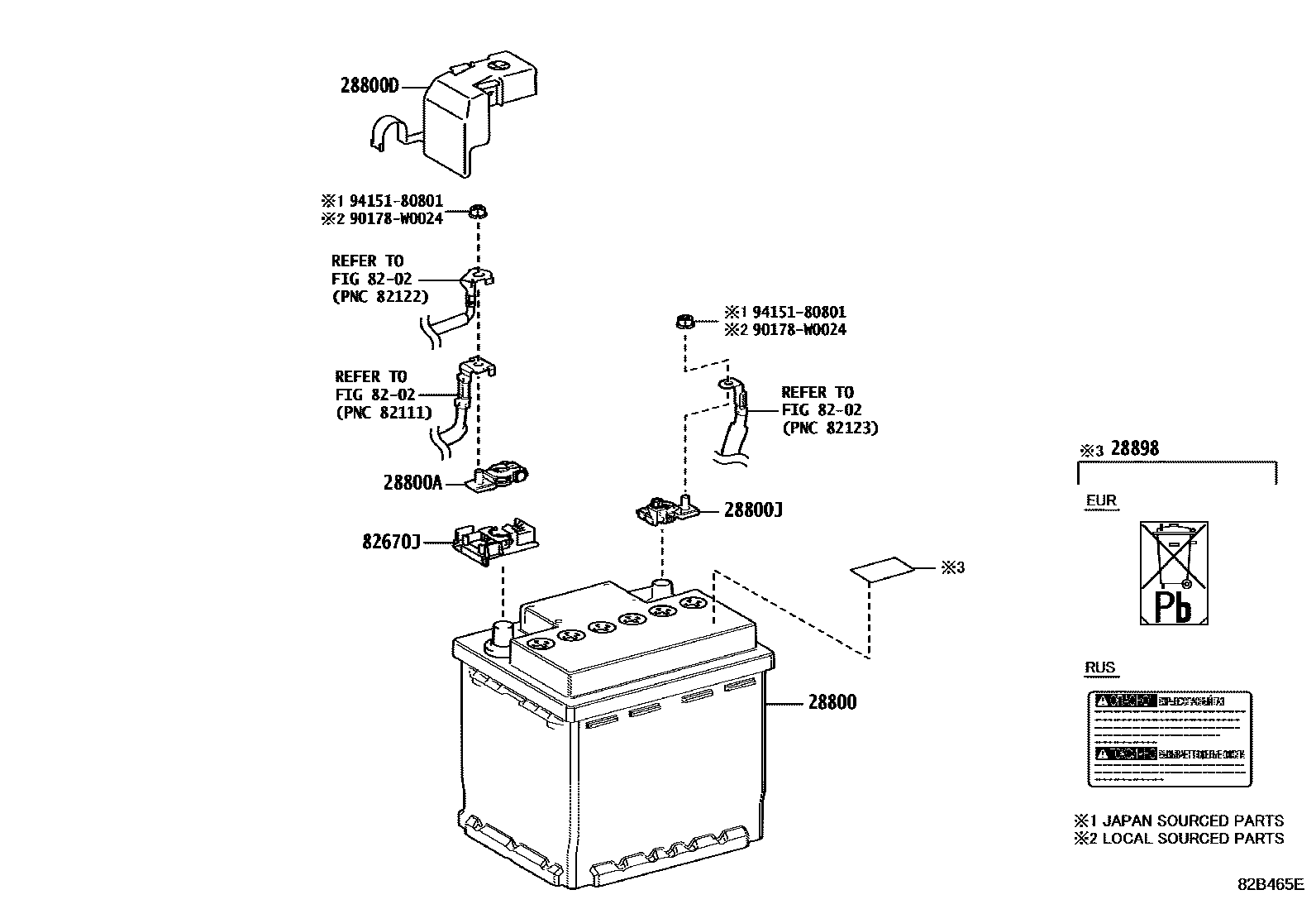
BATTERY & BATTERY CABLE

28800ATERMINAL, BATTERY POSITIVE
28800DCOVER, CONNECTOR(FOR BATTERY TERMINAL)
28800JTERMINAL, BATTERY NEGATIVE
28898PLATE, BATTERY
main28898-46020iA25AFXS..AXVH71..RHD;A25AFXS..AXVH71..LHD..D;A25#,2GRFKS..AXVA70,AXVH70,GSV70..EUR¥110202102-202404
BRAZIL SPEC
8202
82670JBLOCK ASSY, JUNCTION
90178W0024
main90178-W0024
9415180801
9 parts on this diagram · 9 diagrams in section