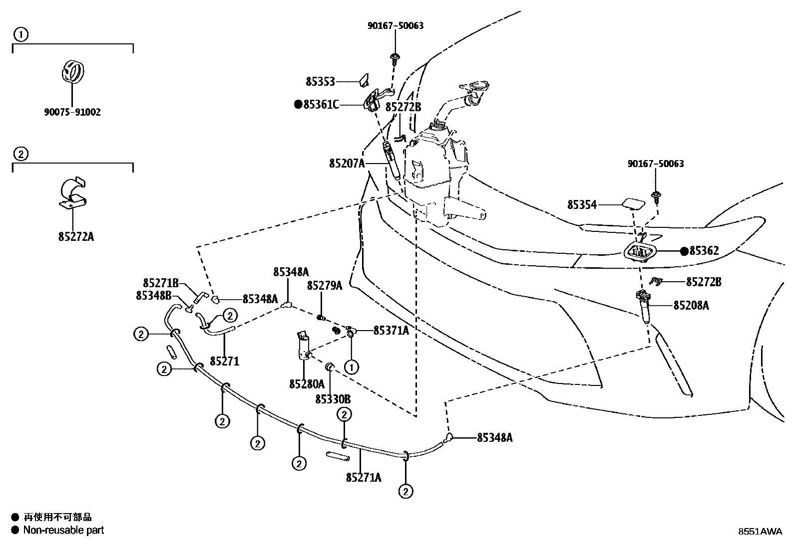
HEADLAMP CLEANER

85207AACTUATOR SUB-ASSY, HEADLAMP WASHER, RH
85208AACTUATOR SUB-ASSY, HEADLAMP WASHER, LH
85271HOSE, HEADLAMP CLEANER, NO.1
L=260
85271AHOSE, HEADLAMP CLEANER, NO.2
L=1700
85271BHOSE, HEADLAMP CLEANER, NO.3
L=100
85272ACLAMP, HEADLAMP CLEANER, NO.1
85272BCLAMP, HEADLAMP CLEANER, NO.2
85279AJOINT, HEADLAMP CLEANER HOSE
85280AMOTOR AND PUMP ASSY, HEADLAMP CLEANER
85330BBUSH, HEADLAMP CLEANER WASHER JAR
85348AJOINT, HEADLAMP CLEANER HOSE, NO.1
85348BJOINT, HEADLAMP CLEANER HOSE, NO.2
85353COVER, HEADLAMP WASHER, RH
SUPER WHITE 2,040
PLATINUM WHITE PEARL MC.,089
SILVER ME.,1F7
PRECIOUS METAL,1L5
ATTITUDE BLACK MC.,218
EMOTIONAL RED 3,3U9
PRECIOUS BRONZE,4Y6
DK. BLUE MC.,8X8
85354COVER, HEADLAMP WASHER, LH
SUPER WHITE 2,040
PLATINUM WHITE PEARL MC.,089
SILVER ME.,1F7
PRECIOUS METAL,1L5
ATTITUDE BLACK MC.,218
EMOTIONAL RED 3,3U9
PRECIOUS BRONZE,4Y6
DK. BLUE MC.,8X8
85361CBRACKET, WASHER
85362BRACKET, WASHER, NO.2
85371AHOSE, HEADLAMP CLEANER(FROM MOTOR TO JOINT)
L=80
L=80,INSIDE REAR VIEW MIRROR-DIGITAL INNER MIRROR
9007591002
main90075-91002
9016750063
main90167-50063
19 parts on this diagram · 1 diagram in section