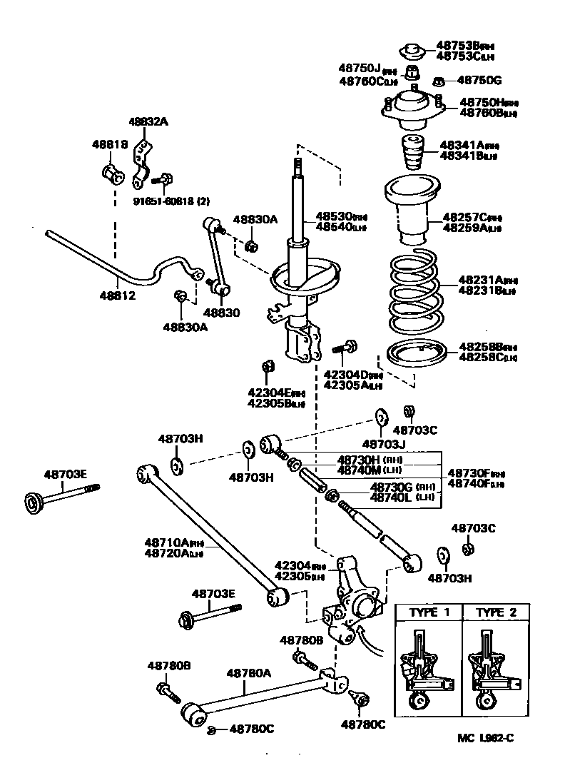
REAR SPRING & SHOCK ABSORBER

42304CARRIER SUB-ASSY, REAR AXLE, RH
W(*66)
42304DBOLT (FOR REAR AXLE CARRIER RH)
42304ENUT (FOR REAR AXLE CARRIER RH)
42305CARRIER SUB-ASSY, REAR AXLE, LH
W(*66)
42305ABOLT (FOR REAR AXLE CARRIER LH)
42305BNUT (FOR REAR AXLE CARRIER LH)
48231ASPRING, COIL, REAR RH
48231BSPRING, COIL, REAR LH
48257CINSULATOR, REAR COIL SPRING, UPPER RH
48258BINSULATOR, REAR COIL SPRING, LOWER RH
48258CINSULATOR, REAR COIL SPRING, LOWER LH
48259AINSULATOR, REAR COIL SPRING, UPPER LH
48341ABUMPER, REAR SPRING, NO.1 RH
48341BBUMPER, REAR SPRING, NO.1 LH
48530ABSORBER ASSY, SHOCK, REAR RH
MARK 48530-06060
MARK 48530-09070
48540ABSORBER ASSY, SHOCK, REAR LH
MARK 48540-06060
MARK 48540-09060
48703CNUT(FOR REAR SUSPENSION ARM)
48703EBOLT(FOR REAR SUSPENSION ARM)
*14-1.50PX260-26,BODY SIDE
*14-1.50PX260-26,CARRIRE SIDE
48703HWASHER, NO.1(FOR REAR SUSPENSION ARM)
48703JWASHER, NO.2(FOR REAR SUSPENSION ARM)
48710AARM ASSY, REAR SUSPENSION, NO.1 RH
48720AARM ASSY, REAR SUSPENSION, NO.1 LH
48730FARM ASSY, REAR SUSPENSION, NO.2 RH
48730GNUT, NO.1(FOR REAR SUSPENSION ARM NO.2 RH)
48730HNUT, NO.2(FOR ARM ASSY, REAR SUSPENSION, NO.2 RH)
48740FARM ASSY, REAR SUSPENSION, NO.2 LH
48740LNUT, NO.1(FOR REAR SUSPENSION ARM NO.2 LH)
48740MNUT, NO.2(FOR ARM ASSY, REAR SUSPENSION, NO.2 LH)
48750GNUT(FOR REAR SUSPENSION SUPPORT)
48750HSUPPORT ASSY, REAR SUSPENSION, RH
48750JNUT(FOR REAR SUPPORT TO REAR SHOCK ABSORBER RH)
48753BCOVER, REAR SUSPENSION SUPOPORT, NO.1 RH
48753CCOVER, REAR SUSPENSION SUPOPORT, NO.1 LH
48760BSUPPORT ASSY REAR SUSPENSION, LH
48760CNUT(FOR REAR SUPPORT TO REAR SHOCK ABSORBER LH)
48780AROD ASSY, STRUT, REAR
48780BBOLT(FOR STRUT ROD)
48780CNUT(FOR STRUT ROD)
CARRIER SIDE
BODY SIDE
48812BAR, STABILIZER, REAR
(L)
(L)
(J)
(J)
48818BUSH, STABILIZER, REAR
48830LINK ASSY, REAR STABILIZER
48830ANUT(FOR REAR STABILIZER LINK)
48832ABRACKET, REAR STABILIZER BAR, NO.1
9165160818
main91651-60818
44 parts on this diagram · 1 diagram in section