E
EPC Data

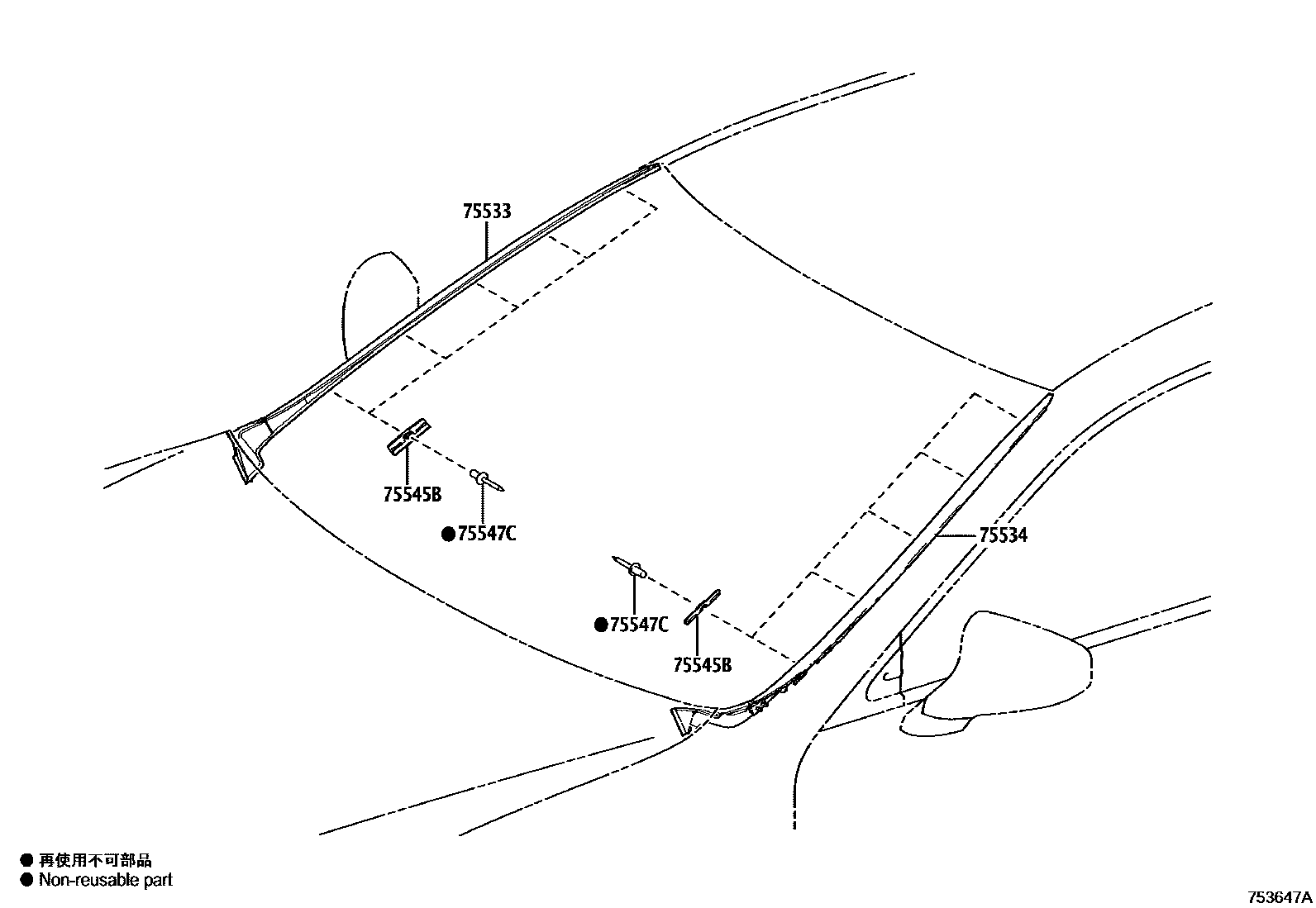
FRONT MOULDING

Parts diagram
75533MOULDING, WINDSHIELD, OUTSIDE RH
main75535-33070i201806-202110
75534MOULDING, WINDSHIELD, OUTSIDE LH
main75536-33070i201806-202110
75545BCLIP, WINDSHIELD OUTSIDE MOULDING, NO.1
main75545-30170i201806-202110
75547CCLIP, WINDSHIELD OUTSIDE MOULDING, NO.3
main75547-51021i201806-202110

4 parts on this diagram · 1 diagram in section

FRONT MOULDING — Toyota Parts Diagram with OEM Numbers & Prices | EPC Data