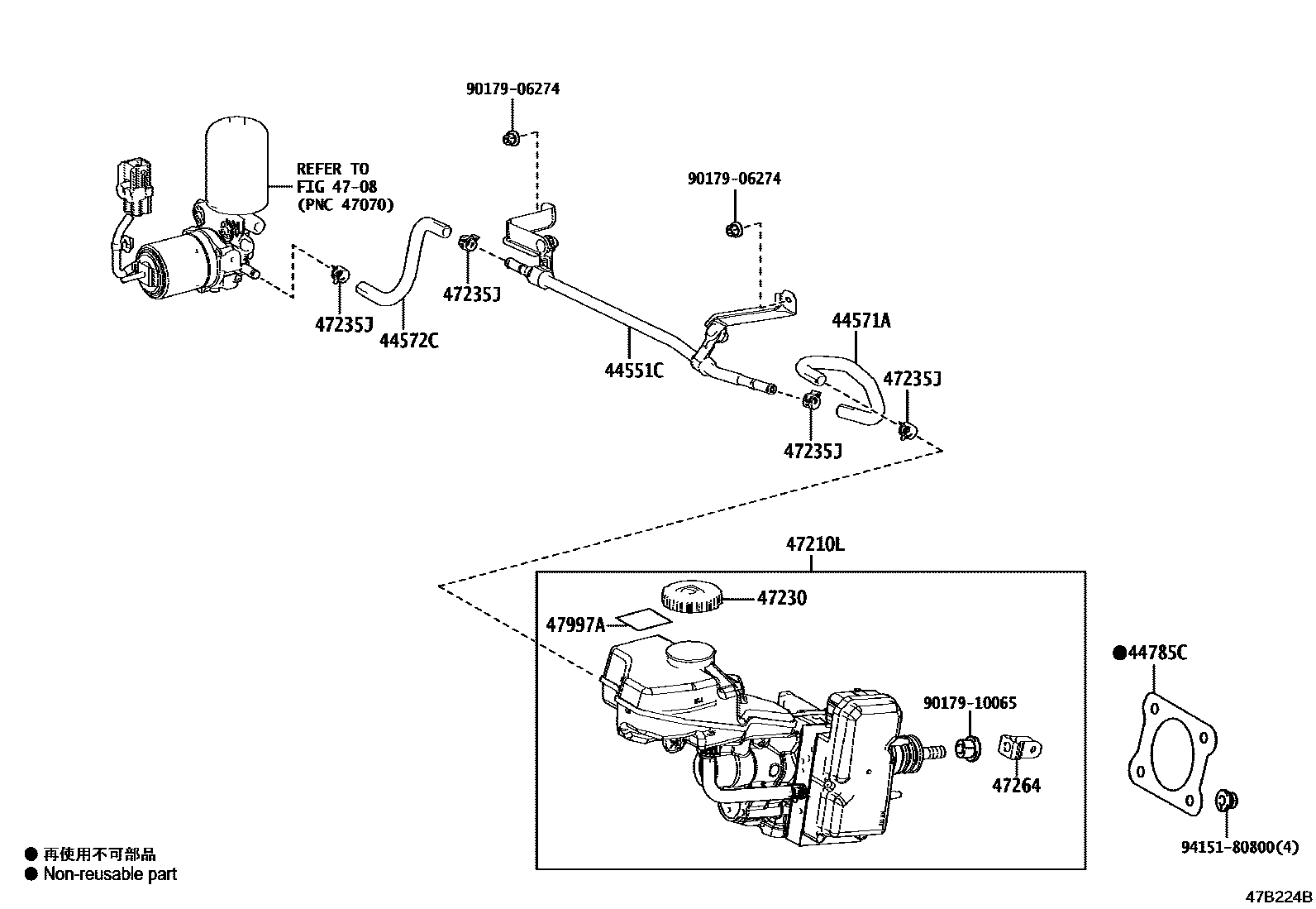
BRAKE MASTER CYLINDER

44551CTUBE, BRAKE ACTUATOR, NO.1
44571AHOSE, BRAKE ACTUATOR, NO.1
44572CHOSE, BRAKE ACTUATOR, NO.2
44785CGASKET, BRAKE BOOSTER
4708
47210LBRAKE BOOSTER ASSY, W/MASTER CYLINDER
ISRAEL SPEC
BRAZIL SPEC
CHILE SPEC
PERU SPEC
VIETNAM SPEC
ARGENTINA SPEC
AZERBAIJAN SPEC
ARGENTINA SPEC
VIETNAM SPEC
PERU SPEC
CHILE SPEC
BRAZIL SPEC
GEORGIA SPEC
MOLDOVA SPEC
UKRAINE SPEC
ISRAEL SPEC
BRAZIL SPEC
INDIA SPEC
sub47050-33680
sub47050-33700
ARGENTINA SPEC
BRAZIL SPEC
ISRAEL SPEC
VIETNAM SPEC
47235JCLIP(FOR RESERVOIR HOSE NO.2)
47264CLEVIS, MASTER CYLINDER PUSH ROD
47997ALABEL, ACCUMULATOR CAUTION, NO.1
BRAZIL SPEC
CHILE SPEC
PERU SPEC
VIETNAM SPEC
ARGENTINA SPEC
ISRAEL SPEC
9017906274
main90179-06274
9017910065
main90179-10065
9415180800
main94151-80800
13 parts on this diagram · 3 diagrams in section