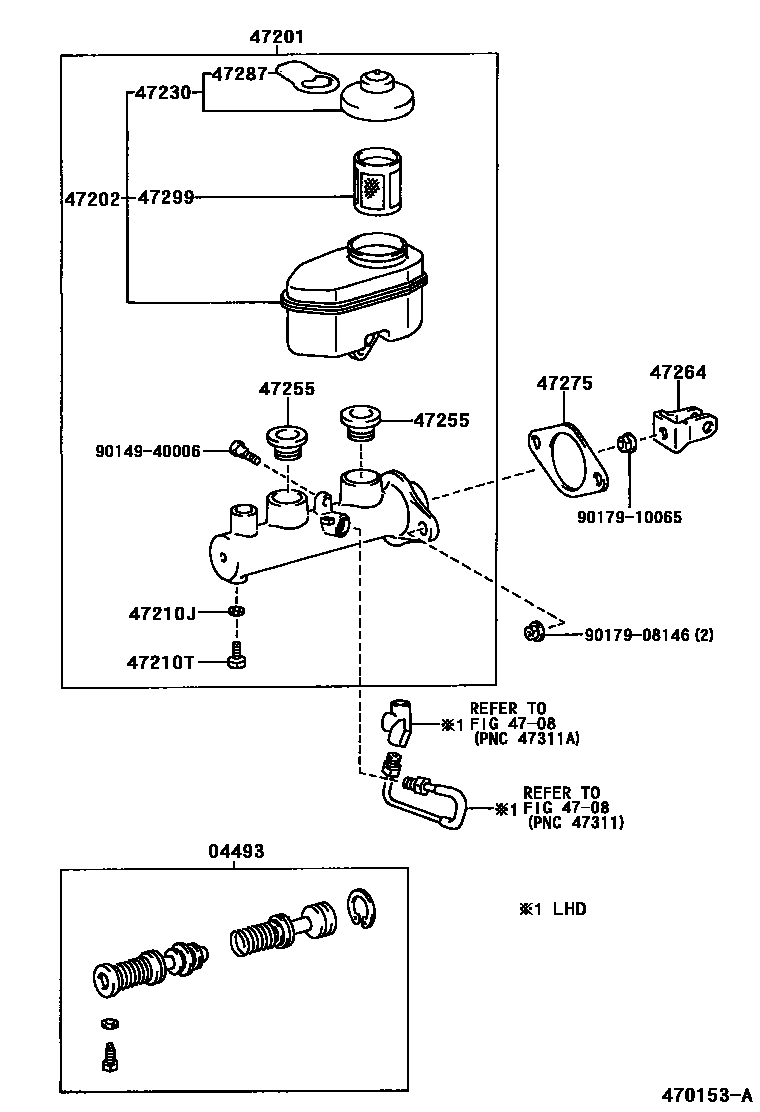
BRAKE MASTER CYLINDER

4708
47201CYLINDER SUB-ASSY, BRAKE MASTER
W(TRACTION CONTROL)
W(14 INCHES DISC WHEEL)
47202RESERVOIR SUB-ASSY, BRAKE MASTER CYLINDER
W(14 INCHES DISC WHEEL)
47210JGASKET(FOR MASTER CYLINDER)
47210TBOLT(FOR BRAKE MASTER CYLINDER)
47230CAP ASSY, BRAKE MASTER CYLINDER RESERVOIR FILLER
W(14 INCHES DISC WHEEL)
47255GROMMET, MASTER CYLINDER RESERVOIR
47264CLEVIS, MASTER CYLINDER PUSH ROD
47275GASKET, BRAKE MASTER CYLINDER
47287LABEL, BRAKE FLUID INFORMATION
47299STRAINER, BRAKE MASTER CYLINDER RESERVOIR
9014940006
main90149-40006
9017908146
main90179-08146
9017910065
main90179-10065
15 parts on this diagram · 2 diagrams in section