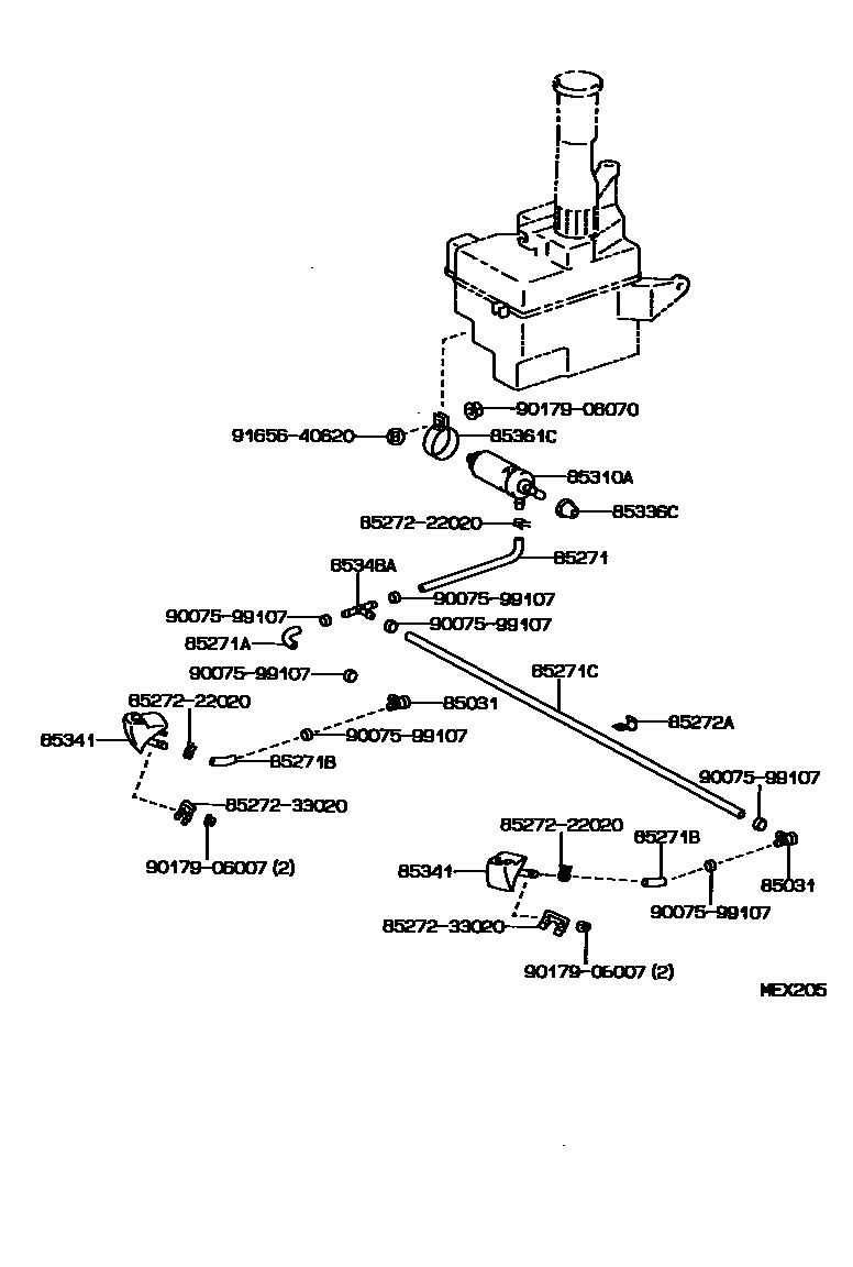
HEADLAMP CLEANER

85031VALVE, HEADLAMP CLEANER WASHER HOSE
SWEDEN SPEC OR FINLAND SPEC
85271HOSE, HEADLAMP CLEANER, NO.1
L=300
85271AHOSE, HEADLAMP CLEANER, NO.2
SWEDEN SPEC OR FINLAND SPEC
L=75,SWEDEN SPEC OR FINLAND SPEC
L=75
85271BHOSE, HEADLAMP CLEANER, NO.3
L=40,SWEDEN SPEC OR FINLAND SPEC
L=40
85271CHOSE, HEADLAMP CLEANER, NO.4
L=1320
L=1320,SWEDEN SPEC OR FINLAND SPEC
85272ACLAMP, HEADLAMP CLEANER, NO.1
SWEDEN SPEC OR FINLAND SPEC
85336CPACKING, HEADLAMP CLEANER MOTOR
85341NOZZLE, HEADLAMP CLEANER WASHER
SWEDEN SPEC OR FINLAND SPEC
85348AJOINT, HEADLAMP CLEANER HOSE, NO.1
SWEDEN SPEC OR FINLAND SPEC
SWEDEN SPEC OR FINLAND SPEC
85361CBRACKET, WASHER
8527222020CABLE SUB-ASSY, HEADLAMP CLEANER, RH
main85272-22020
8527233020CABLE SUB-ASSY, HEADLAMP CLEANER, RH
main85272-33020
9007599107
main90075-99107
9017906007
main90179-06007
9017906070
main90179-06070
9165640620
main91656-40620
17 parts on this diagram · 2 diagrams in section