E
EPC Data
Pricing
API Docs
Sign In
Home
›
EU
›
281540
›
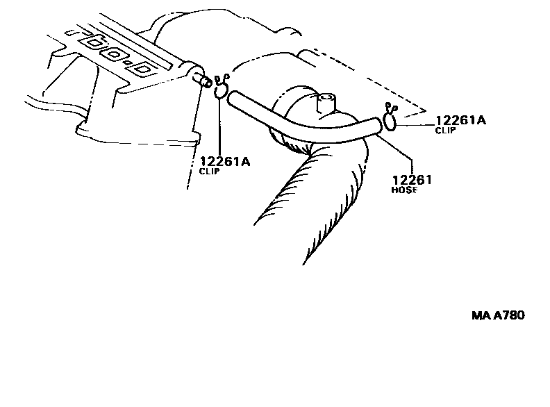
VENTILATION HOSE
VENTILATION HOSE
0001 1
0002 1
0003 1
12261
HOSE, VENTILATION
main
12261-62020
i
2VZFE..VZV21
198808-199106
main
12261-64070
i
2CT..CV20
198808-199106
main
12261-74020
i
3SFE..SV2#
198808-199106
12261A
CLIP OR CLAMP(FOR VENTILATION HOSE)
main
90467-15120
i
2CT..CV20
198808-199106
main
90467-17002
i
2VZFE..VZV21
198808-198905
NO.2
sub
90467-17011
main
90467-17011
i
2VZFE..VZV21
198908-199106
NO.1
sub
96134-51700
main
90467-17011
i
2VZFE..VZV21
198905-198908
NO.2
sub
96134-51700
main
90467-17012
i
2VZFE..VZV21
198905-198908
NO.1
main
90467-17012
i
2VZFE..VZV21
198908-199106
NO.2
main
90467-17126
i
2VZFE..VZV21
198808-198905
NO.1
2 parts on this diagram · 3 diagrams in section
VENTILATION HOSE — Toyota Parts Diagram with OEM Numbers & Prices | EPC Data