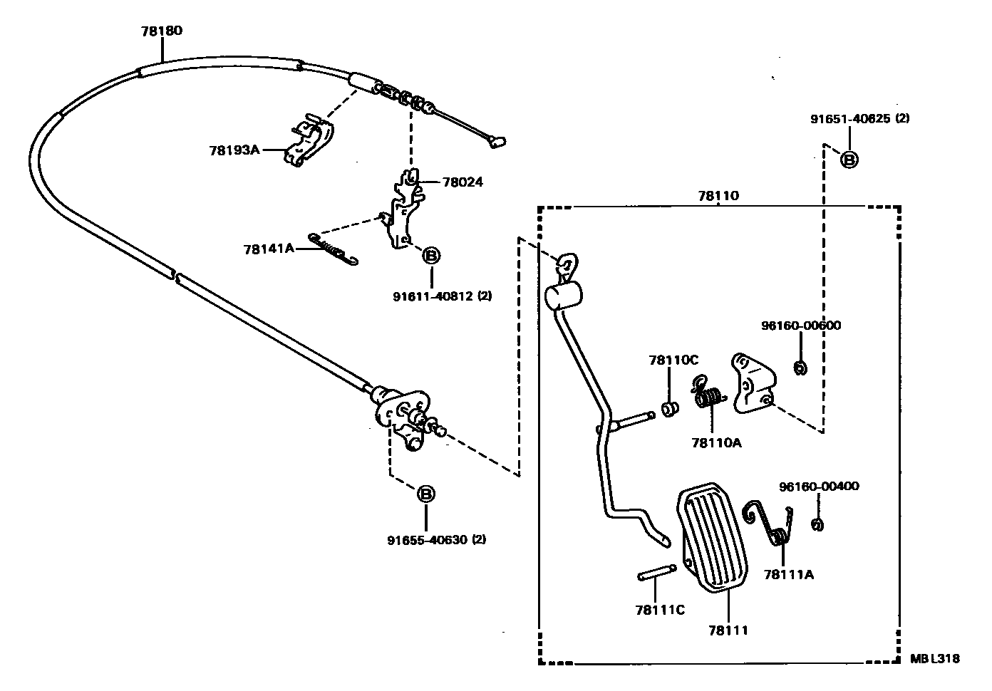
ACCELERATOR LINK

78024BRACKET SUB-ASSY, ACCELERATOR CONTROL CABLE
78110ROD ASSY, ACCELERATOR PEDAL
78110ASPRING (FOR ACCELERATOR PEDAL ROD)
78110CBUSH (FOR ACCELERATOR PEDAL ROD)
W(CRUISE CONTR0L)
W(CRUISE CONTR0L)
78111PEDAL, ACCELERATOR
78111ASPRING (FOR ACCELERATOR PEDAL)
NO.1
NO.2
78111CPIN (FOR ACCELERATOR PEDAL)
78141ASPRING, TENSION(FOR ACCELERATOR WIRE RETURN SPRING)
78180WIRE ASSY, ACCELERATOR
W(CRUISE CONTROL)
W/CRUISE CONTROL
W(CRUISE CONTR0L)
sub78180-32181
W(ANTI-LOCK BRAKE SYSTEM & CRUISE C0NTR0L)
W/CRUISE CONTROL & *66
W(CRUISE CONTR0L)
W(CRUISE CONTR0L)
78193ASUPPORT, ACCELERATOR CONTROL CABLE, NO.3
9161140812
main91611-40812
9165140625
main91651-40625
9165540630
main91655-40630
9616000400
main96160-00400
9616000600
main96160-00600
15 parts on this diagram · 5 diagrams in section