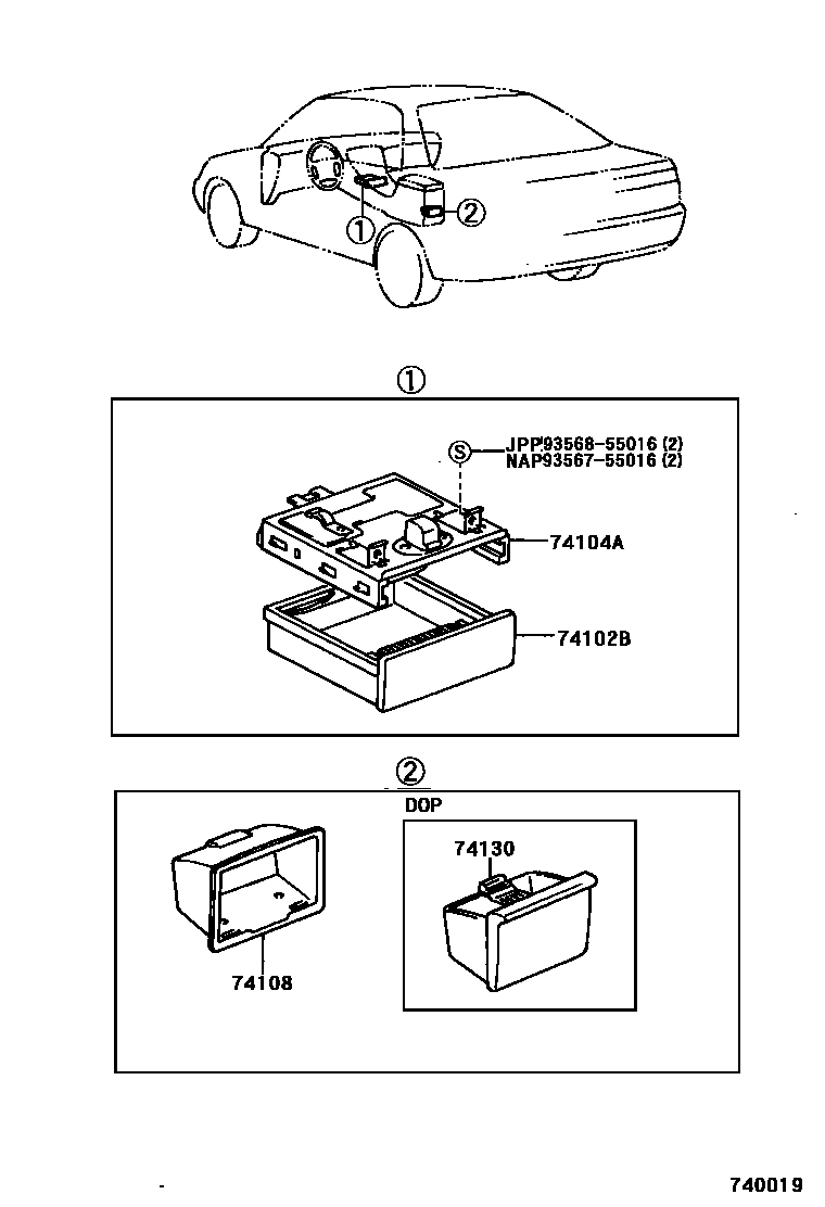
ASH RECEPTACLE

74102BBOX SUB-ASSY, FRONT ASH RECEPTACLE
WOOD GRAIN
CARBON GRAIN PANEL
74108RETAINER SUB-ASSY, REAR ASH RECEPTACLE
74130RECEPTACLE ASSY, REAR ASH
9356755016
main93567-55016
9356855016
main93568-55016
6 parts on this diagram · 1 diagram in section