E
EPC Data

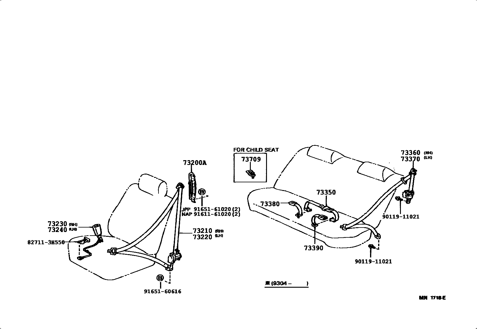
SEAT BELT & CHILD RESTRAINT SEAT

Parts diagram
73200AADJUSTER ASSY, FRONT SHOULDER BELT ANCHOR
main73200-06010-B0i199408-199608
MEDIUM GRAY,TRIM1#,Q.S.S.
main73200-06010-B0i199308-199408
MEDIUM GRAY,TRIM1#,QSS
main73200-06010-E0i199408-199608
OAK,TRIM4#,Q.S.S.
main73200-06010-E0i199308-199408
OAK,TRIM4#,QSS
main73200-06010-K0i199308-199408
TAUPE,TRIM9#,QSS
main73200-06010-K0i199408-199608
TAUPE,TRIM9#,Q.S.S.
main73200-32050-02i199106-199206
TAUPE,TRIM9#
main73200-32050-03i199106-199206
MEDIUM GRAY,TRIM1#
main73200-32050-04i199106-199308
DARK BLUE,TRIM8#
main73200-32050-B0i199308-199608
MI.GRAY,TRIM1#,TOKAIRIKA
main73200-32050-B0i199206-199308
MI.GRAY,TRIM1#
main73200-32050-E0i199308-199608
OAK,TRIM4#,TOKAIRIKA
main73200-32050-E0i199208-199308
OAK,TRIM4#
main73200-32050-K0i199308-199608
TAUPE,TRIM9#,TOKAIRIKA
main73200-32050-K0i199206-199308
TAUPE,TRIM9#
73210BELT ASSY, FRONT SEAT OUTER, RH
main73210-06031-B0i199408-199608
SHADOW GRAY,TRIM1#
main73210-06031-E0i199408-199608
OAK,TRIM4#
main73210-06031-K0i199408-199608
TAUPE,TRIM9#
main73210-33030-02i199106-199304
TAUPE,TRIM9#
main73210-33030-03i199106-199304
MEDIUM GRAY,TRIM1#
main73210-33030-04i199106-199304
DARK BLUE,TRIM8#
main73210-33030-E0i199206-199304
MEDIUM OAK,TRIM4#
main73210-33031-K0i199304-199308
TAUPE,TRIM9#
main73210-33031-S4i199304-199308
MEDIUM GRAY,TRIM1#
main73210-33031-W3i199304-199308
DARK BLUE,TRIM8#
main73210-33090-B0i199308-199403
SHADOW GRAY,TRIM1#
main73210-33090-E0i199308-199403
OAK,TRIM4#
main73210-33090-K0i199308-199403
TAUPE,TRIM9#
main73210-33091-B0i199403-199408
SHADOW GRAY,TRIM1#
main73210-33091-E0i199403-199408
OAK,TRIM4#
main73210-33091-K0i199403-199408
TAUPE,TRIM9#
73220BELT ASSY, FRONT SEAT OUTER, LH
main73220-06030-B2i199408-199608
MEDIUM GRAY,TRIM1#
main73220-06030-E0i199408-199608
OAK,TRIM4#
main73220-06030-K0i199408-199608
TAUPE,TRIM9#
main73220-33030-02i199106-199304
TAUPE,TRIM9#
main73220-33030-03i199106-199304
MEDIUM GRAY,TRIM1#
main73220-33030-04i199106-199304
DARK BLUE,TRIM8#
main73220-33030-E0i199206-199304
MEDIUM OAK,TRIM4#
main73220-33031-E1i199304-199308
OAK,OAK,TRIM4#
main73220-33031-K0i199304-199308
TAUPE,TRIM9#
main73220-33031-S4i199304-199308
MEDIUM GRAY,TRIM1#
main73220-33031-W3i199304-199308
DARK BLUE,TRIM8#
main73220-33100-B0i199308-199403
MEDIUM GRAY,TRIM1#
main73220-33100-E0i199308-199403
OAK,TRIM4#
main73220-33100-K0i199308-199403
TAUPE,TRIM9#
main73220-33101-B0i199403-199408
SHADOW GRAY,TRIM1#
main73220-33101-E0i199403-199408
OAK,TRIM4#
main73220-33101-K0i199403-199408
TAUPE,TRIM9#
73230BELT ASSY, FRONT SEAT INNER, RH
main73230-06011-B0i199408-199608
MEDIUM GRAY,TRIM1#
main73230-06011-E0i199408-199608
OAK,TRIM4#
main73230-06011-K0i199408-199608
TAUPE,TRIM9#
main73230-32160-02i199106-199206
TAUPE,TRIM9#
main73230-32160-03i199106-199206
MEDIUM GRAY,TRIM1#
main73230-32160-04i199106-199308
DARK BLUE,TRIM8#
main73230-32160-B0i199206-199408
MI.GRAY,TRIM1#
main73230-32160-E0i199308-199408
OAK,TRIM4#
main73230-32160-E1i199206-199308
GREIGE,TRIM4#
main73230-32160-K1i199206-199408
TAUPE,TRIM9#
73240BELT ASSY, FRONT SEAT INNER, LH
main73230-33040-02i199106-199110
TAUPE,TRIM9#
main73230-33040-03i199106-199206
MEDIUM GRAY,TRIM1#
main73230-33040-04i199106-199308
DARK BLUE,TRIM8#
main73230-33040-E0i199206-199308
GREIGE,TRIM4#
main73230-33040-K0i199110-199308
TAUPE,TRIM9#
main73230-33040-S4i199206-199308
MEDIUM GRAY,TRIM1#
main73230-33041-E1i199308-199408
OAK,TRIM4#
main73230-33041-K0i199308-199408
TAUPE,TRIM9#
main73230-33041-S4i199308-199408
MEDIUM GRAY,TRIM1#
main73230-33050-02i199106-199110
TAUPE,TRIM9#
main73230-33050-02i199106-199110
W(POWER SEAT),TAUPE,TRIM9#
main73230-33050-03i199106-199207
W(POWER SEAT),MEDIUM GRAY,TRIM1#
main73230-33050-03i199106-199207
MEDIUM GRAY,TRIM1#
main73230-33050-04i199106-199308
W(POWER SEAT),DARK BLUE,TRIM8#
main73230-33050-04i199106-199308
DARK BLUE,TRIM8#
main73230-33050-E0i199206-199308
GREIGE,TRIM4#
main73230-33050-E0i199206-199308
W(POWER SEAT),GREIGE,TRIM4#
main73230-33050-K0i199110-199308
W(POWER SEAT),TAUPE,TRIM9#
main73230-33050-K0i199110-199308
TAUPE,TRIM9#
main73230-33050-S4i199207-199308
W(POWER SEAT),MEDIUM GRAY,TRIM1#
main73230-33050-S4i199207-199308
MEDIUM GRAY,TRIM1#
main73230-33051-E1i199308-199402
W(POWER SEAT),OAK,TRIM4#
main73230-33051-E1i199308-199408
OAK,TRIM4#
main73230-33051-K0i199308-199402
W(POWER SEAT),TAUPE,TRIM9#
main73230-33051-K0i199308-199408
TAUPE,TRIM9#
main73230-33051-S4i199308-199402
W(POWER SEAT),MEDIUM GRAY,TRIM1#
main73230-33051-S4i199308-199408
MEDIUM GRAY,TRIM1#
main73240-06011-B0i199408-199608
MEDIUM GRAY,TRIM1#
main73240-06011-E0i199408-199608
OAK,TRIM4#
main73240-06011-K0i199408-199608
TAUPE,TRIM9#
main73240-06021-B0i199408-199608
MEDIUM GRAY,TRIM1#
main73240-06021-B0i199508-199608
W(POWER SEAT),MEDIUM GRAY,TRIM1#
main73240-06021-E0i199508-199608
W(POWER SEAT),OAK,TRIM4#
main73240-06021-E0i199408-199608
OAK,TRIM4#
main73240-06021-K0i199408-199608
TAUPE,TRIM9#
73350BELT ASSY, REAR SEAT LAP TYPE, CENTER
main73350-06040-B0i199308-199408
SHADOW GRAY,TRIM1#,QSS
main73350-06040-B2i199408-199608
MEDIUM GRAY,TRIM1#,QSS
main73350-06040-E0i199308-199408
OAK,TRIM4#,QSS
main73350-06040-E2i199408-199608
OAK,TRIM4#,QSS
main73350-06040-K0i199308-199408
TAUPE,TRIM9#,QSS
main73350-06040-K2i199408-199608
TAUPE,TRIM9#,QSS
main73350-33020-02i199106-199208
TAUPE,TRIM9#
main73350-33020-03i199106-199208
MEDIUM GRAY,TRIM1#
main73350-33020-04i199106-199208
DARK BLUE,TRIM8#
main73350-33020-E0i199206-199208
MEDIUM OAK,TRIM4#
main73350-33021-B0i199208-199308
MEDIUM GRAY,TRIM1#
main73350-33021-B0i199308-199408
MEDIUM GRAY,TRIM1#,TOKAIRIKA
main73350-33021-B1i199408-199608
SHADOW GRAY,TRIM1#,TOKAIRIKA
main73350-33021-E0i199308-199608
MEDIUM OAK,TRIM4#,TOKAIRIKA
main73350-33021-E0i199208-199308
MEDIUM OAK,TRIM4#
main73350-33021-J0i199208-199308
DARK BLUE,TRIM8#
main73350-33021-K0i199208-199308
TAUPE,TRIM9#
main73350-33021-K0i199308-199608
TAUPE,TRIM9#,TOKAIRIKA
73360BELT ASSY, REAR SEAT 3 POINT TYPE, OUTER RH
main73360-06061-B0i199308-199508
MEDIUM GRAY,TRIM1#,QSS
main73360-06061-E0i199308-199508
OAK,TRIM4#,QSS
main73360-06061-K0i199308-199508
TAUPE,TRIM9#,QSS
main73360-06062-B2i199508-199608
SHADOW GRAY,TRIM1#,QSS
main73360-06062-E2i199508-199608
OAK,TRIM4#,QSS
main73360-06062-K2i199508-199608
TAUPE,TRIM9#,QSS
main73360-33020-02i199106-199208
TAUPE,TRIM9#
main73360-33020-03i199106-199208
MEDIUM GRAY,TRIM1#
main73360-33020-04i199106-199208
DARK BLUE,TRIM8#
main73360-33020-E0i199206-199208
MEDIUM OAK,TRIM4#
main73360-33021-B0i199208-199304
MEDIUM GRAY,TRIM1#
main73360-33021-E0i199208-199304
MEDIUM OAK,TRIM4#
main73360-33021-J0i199208-199304
DARK BLUE,TRIM8#
main73360-33021-K1i199208-199304
TAUPE,TRIM9#
main73360-33022-E1i199304-199308
OAK,TRIM4#
main73360-33022-K0i199304-199308
TAUPE,TRIM9#
main73360-33022-S4i199304-199308
MEDIUM GRAY,TRIM1#
main73360-33022-W3i199304-199308
DARK BLUE,TRIM8#
main73360-33070-B0i199308-199408
SHADOW GRAY,TRIM1#,TOKAIRIKA
main73360-33070-B1i199408-199608
SHADOW GRAY,TRIM1#,TOKAIRIKA
main73360-33070-E0i199308-199408
OAK,TRIM4#,TOKAIRIKA
main73360-33070-E1i199408-199608
OAK,TRIM4#,TOKAIRIKA
main73360-33070-K0i199308-199408
TAUPE,TRIM9#,TOKAIRIKA
main73360-33070-K1i199408-199608
TAUPE,TRIM9#,TOKAIRIKA
73370BELT ASSY, REAR SEAT 3 POINT TYPE, OUTER LH
main73370-06061-B0i199308-199508
MEDIUM GRAY,TRIM1#,QSS
main73370-06061-E0i199308-199508
OAK,TRIM4#,QSS
main73370-06061-K0i199308-199508
TAUPE,TRIM9#,QSS
main73370-06062-B2i199508-199608
SHADOW GRAY,TRIM1#,QSS
main73370-06062-E2i199508-199608
OAK,TRIM4#,QSS
main73370-06062-K2i199508-199608
TAUPE,TRIM9#,QSS
main73370-33020-02i199106-199208
TAUPE,TRIM9#
main73370-33020-03i199106-199208
MEDIUM GRAY,TRIM1#
main73370-33020-04i199106-199208
DARK BLUE,TRIM8#
main73370-33020-E0i199206-199208
MEDIUM OAK,TRIM4#
main73370-33021-B0i199208-199304
MEDIUM GRAY,TRIM1#
main73370-33021-E0i199208-199304
MEDIUM OAK,TRIM4#
main73370-33021-J0i199208-199304
DARK BLUE,TRIM8#
main73370-33021-K1i199208-199304
TAUPE,TRIM9#
main73370-33022-E1i199304-199308
OAK,TRIM4#
main73370-33022-K0i199304-199308
TAUPE,TRIM9#
main73370-33022-S4i199304-199308
MEDIUM GRAY,TRIM1#
main73370-33022-W3i199304-199308
DARK BLUE,TRIM8#
main73370-33070-B0i199308-199408
SHADOW GRAY,TRIM1#,TOKAIRIKA
main73370-33070-B1i199408-199608
SHADOW GRAY,TRIM1#,TOKAIRIKA
main73370-33070-E0i199308-199408
OAK,TRIM4#,TOKAIRIKA
main73370-33070-E1i199408-199608
OAK,TRIM4#,TOKAIRIKA
main73370-33070-K0i199308-199408
TAUPE,TRIM9#,TOKAIRIKA
main73370-33070-K1i199408-199608
TAUPE,TRIM9#,TOKAIRIKA
73380BELT ASSY, REAR SEAT 3 POINT TYPE, INNER, RH
main73380-06040-B0i199308-199408
SHADOW GRAY,TRIM1#,QSS
main73380-06040-B2i199408-199608
MEDIUM GRAY,TRIM1#,QSS
main73380-06040-E0i199308-199408
OAK,TRIM4#,QSS
main73380-06040-E2i199408-199608
OAK,TRIM4#,QSS
main73380-06040-K0i199308-199408
TAUPE,TRIM9#,QSS
main73380-06040-K2i199408-199608
TAUPE,TRIM9#,QSS
main73380-33020-02i199106-199208
TAUPE,TRIM9#
main73380-33020-03i199106-199208
MEDIUM GRAY,TRIM1#
main73380-33020-04i199106-199208
DARK BLUE,TRIM8#
main73380-33020-E0i199206-199208
MEDIUM OAK,TRIM4#
main73380-33021-B0i199308-199408
MEDIUM GRAY,TRIM1#,TOKAIRIKA
main73380-33021-B0i199208-199308
MEDIUM GRAY,TRIM1#
main73380-33021-B1i199408-199608
SHADOW GRAY,TRIM1#,TOKAIRIKA
main73380-33021-E0i199308-199608
MEDIUM OAK,TRIM4#,TOKAIRIKA
main73380-33021-E0i199208-199308
MEDIUM OAK,TRIM4#
main73380-33021-J0i199208-199308
DARK BLUE,TRIM8#
main73380-33021-K0i199308-199608
TAUPE,TRIM9#,TOKAIRIKA
main73380-33021-K0i199208-199308
TAUPE,TRIM9#
73390BELT ASSY, REAR SEAT 3 POINT TYPE, INNER, LH
main73380-06040-B0i199308-199408
SHADOW GRAY,TRIM1#,QSS
main73380-06040-B2i199408-199608
MEDIUM GRAY,TRIM1#,QSS
main73380-06040-E0i199308-199408
OAK,TRIM4#,QSS
main73380-06040-E2i199408-199608
OAK,TRIM4#,QSS
main73380-06040-K0i199308-199408
TAUPE,TRIM9#,QSS
main73380-06040-K2i199408-199608
TAUPE,TRIM9#,QSS
main73480-33030-02i199106-199208
TAUPE,TRIM9#
main73480-33030-03i199106-199208
MEDIUM GRAY,TRIM1#
main73480-33030-04i199106-199208
DARK BLUE,TRIM8#
main73480-33030-E0i199206-199208
MEDIUM OAK,TRIM4#
main73480-33031-B0i199208-199308
MEDIUM GRAY,TRIM1#
main73480-33031-B0i199308-199408
MEDIUM GRAY,TRIM1#,TOKAIRIKA
main73480-33031-B1i199408-199608
MEDIUM GRAY,TRIM1#,TOKAIRIKA
main73480-33031-E0i199308-199608
MEDIUM OAK,TRIM4#,TOKAIRIKA
main73480-33031-E0i199208-199308
MEDIUM OAK,TRIM4#
main73480-33031-J0i199208-199308
DARK BLUE,TRIM8#
main73480-33031-K0i199308-199608
TAUPE,TRIM9#,TOKAIRIKA
main73480-33031-K0i199208-199308
TAUPE,TRIM9#
73709BRACKET SUB-ASSY, TETHER ANCHOR
main73709-20010i199106-199402
827113H550WIRE, FUSE TO FUSE(FOR COMBUSTION HEATER)
9011911021
9161161020
9165160616
9165161020

16 parts on this diagram · 1 diagram in section

SEAT BELT & CHILD RESTRAINT SEAT — Toyota Parts Diagram with OEM Numbers & Prices | EPC Data