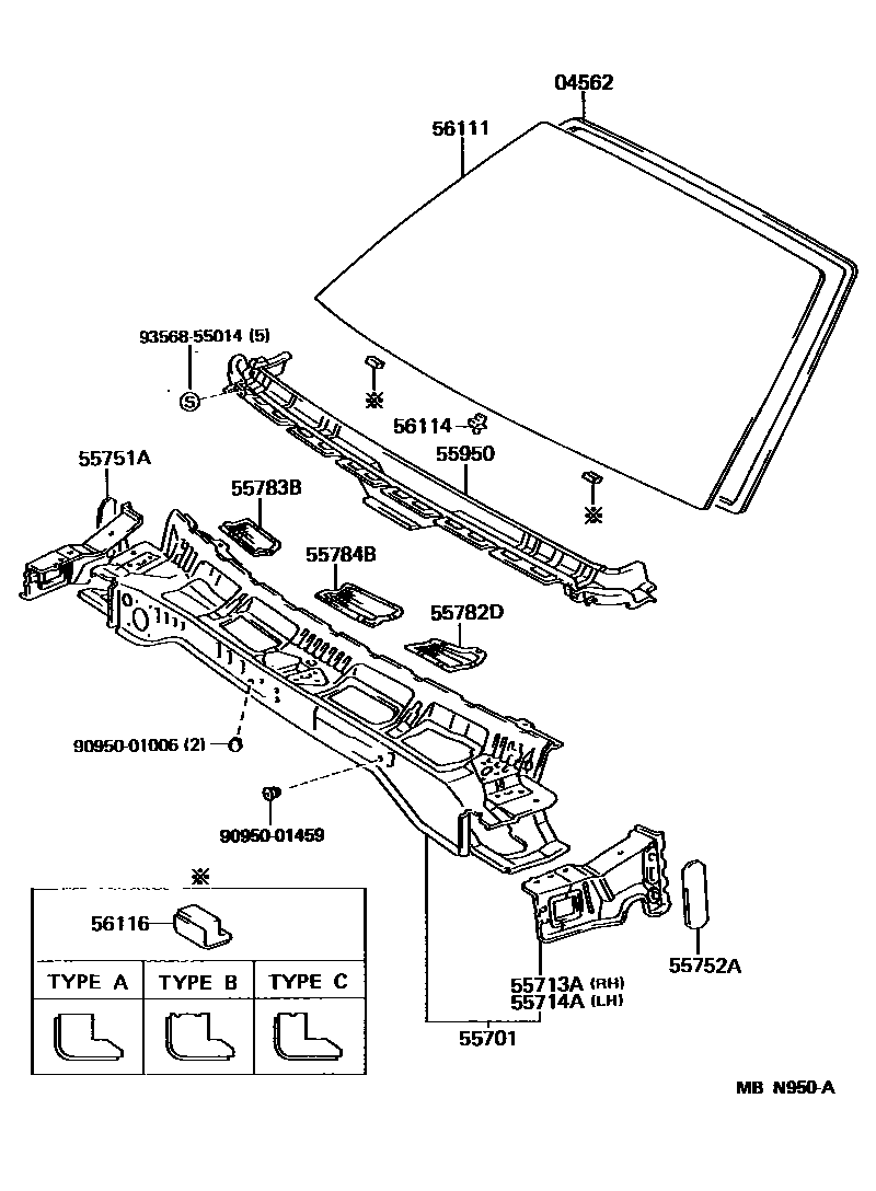
COWL PANEL & WINDSHIELD GLASS

04562DAM KIT, WINDSHIELD GLASS
55713APANEL, COWL TOP SIDE, RH
55714APANEL, COWL TOP SIDE, LH
55751ASHIELD, COWL VENTILATOR SPLASH, RH
55752ASHIELD, COWL VENTILATOR SPLASH, LH
55782DLOUVER, COWL TOP VENTILATOR, LH
55783BLOUVER, COWL TOP VENTILATOR, CENTER NO.1
55784BLOUVER, COWL TOP VENTILATOR, CENTER NO.2
55950NOZZLE ASSY, DEFROSTER
56111GLASS, WINDSHIELD
*TL,T=5.3
*TL,T=5.3,BRONZE
56114RETAINER, WINDSHIELD GLASS
56116SPACER, WINDSHIELD GLASS
TYPE C
9095001006
9095001459
9356855014
16 parts on this diagram · 1 diagram in section