E
EPC Data

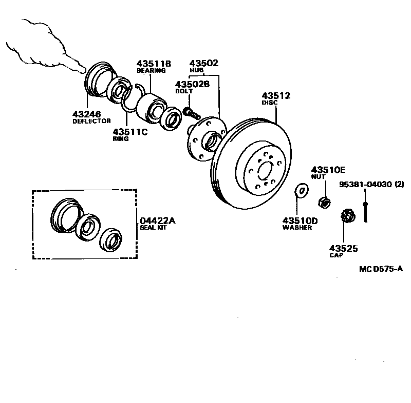
FRONT AXLE HUB

Parts diagram
04422ASEAL KIT, FRONT AXLE OIL
main04422-32010i198608-198808
43246DEFLECTOR, FRONT WHEEL BEARING DUST, NO.1
main43246-32011i198608-198808
43502HUB SUB-ASSY, FRONT AXLE
main43502-20040i198608-198711
main43502-32040i198711-198808
main43503-32010i198708-198710
W/*66
main43503-32010i198710-198808
W(ANTI-LOCK BRAKE SYSTEM)
43502BBOLT, HUB (FOR FRONT AXLE)
main90942-02047i198608-198808
43510DWASHER, CLAW (FOR STEERING KNUCKLE WASHER)
main90201-20012i198608-198808
43510ENUT (FOR STEERING KNUCKLE)
main90170-19001i198608-198808
43511BBEARING (FOR FRONT AXLE HUB)
main90369-38003i198608-198808
43511CRING, HOLE SNAP (FOR FRONT AXLE HUB)
main90521-79002i198608-198808
OD=79
main90521-79003i198710-198808
T=2.50-2.57,T=2.50-2.57
main90521-79004i198710-198808
T=2.57-2.62,T=2.57-2.62
main90521-79005i198710-198808
T=2.62-2.67,T=2.62-2.67
main90521-79006i198710-198808
T=2.67-2.72,T=2.67-2.72
43512DISC, FRONT
main43512-32090i198608-198705
main43512-32120i198705-198808
43525CAP, FRONT WHEEL ADJUSTING LOCK
main43525-16010i198608-198808
9538104030

11 parts on this diagram · 1 diagram in section

FRONT AXLE HUB — Toyota Parts Diagram with OEM Numbers & Prices | EPC Data