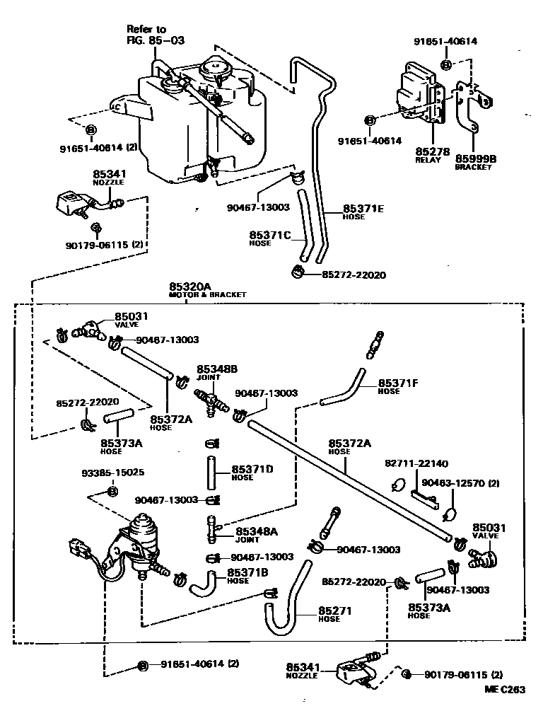
HEADLAMP CLEANER

8503
85031VALVE, HEADLAMP CLEANER WASHER HOSE
85271HOSE, HEADLAMP CLEANER, NO.1
85278RELAY ASSY, HEADLAMP CLEANER CONTROL
85320AMOTOR AND BRACKET ASSY, HEADLAMP CLEANER WASHER
85341NOZZLE, HEADLAMP CLEANER WASHER
RH
RH
RH,W/URETHANE BUMPER
RH,P.P. BUMPER
LH
LH,W/URETHANE BUMPER
LH
LH,P.P. BUMPER
85348AJOINT, HEADLAMP CLEANER HOSE, NO.1
85348BJOINT, HEADLAMP CLEANER HOSE, NO.2
85371BHOSE, HEADLAMP CLEANER (FROM MOTOR TO JOINT)
85371CHOSE, HEADLAMP CLEANER, NO.1
85371DHOSE, HEADLAMP CLEANER, NO.2
L=1070
L=50
85371EHOSE, HEADLAMP CLEANER, NO.3
85371FHOSE, HEADLAMP CLEANER, NO.4
85372AHOSE, HEADLAMP CLEANER (FROM JOINT TO JOINT OR NOZZLE)
L=115,RH
85373AHOSE, HEADLAMP CLEANER WASHER (FROM JOINT TO NOZZLE)
L=75
L=50
85999BBRACKET, HEADLAMP CLEANER RELAY
8271122140WIRE, FUSE TO FUSE(FOR COMBUSTION HEATER)
main82711-22140
8527222020CABLE SUB-ASSY, HEADLAMP CLEANER, RH
main85272-22020
9017906115
main90179-06115
9046312570
main90463-12570
9046713003
main90467-13003
9165140614
main91651-40614
9338515025
main93385-15025
23 parts on this diagram · 2 diagrams in section