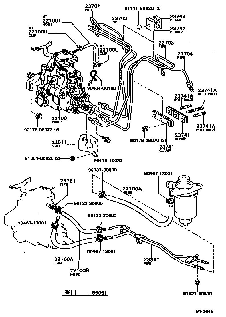
INJECTION PUMP ASSEMBLY

22100PUMP ASSY, INJECTION OR SUPPLY
sub22100-64380
sub22100-64390
W/TACHO METER PICK-UP
W/TACHO METER PICK-UP
22100AHOSE OR PIPE, FUEL(FOR INJECTION PUMP TO FUEL FILTER)
PIPE TO PUMP
L=380,FILTER TO PIPE
22100SHOSE, FUEL(FOR INJECTION PUMP TO FUEL PIPE)
22100THOSE(FOR INTAKE MANIFOLD TO INJECTION PUMP)
22100UCLIP, HOSE FUEL(FOR INJECTION PUMP)
sub90467-07094
22811STAY, INJECTION PUMP, NO.1
23701PIPE SUB-ASSY, INJECTION, NO.1
sub23701-64050
23702PIPE SUB-ASSY, INJECTION, NO.2
sub23702-64050
23703PIPE SUB-ASSY, INJECTION, NO.3
sub23703-64050
23704PIPE SUB-ASSY, INJECTION, NO.4
sub23704-64050
23741CLAMP, INJECTION PIPE, NO.1
sub23741-64011
23741ABOLT, STUD(FOR INJECTION PIPE CLAMP)
NO.2
23742CLAMP, INJECTION PIPE, NO.2
23743CLAMP, INJECTION PIPE, NO.3
23761PIPE, NOZZLE LEAKAGE, NO.1
sub23764-64041
23811PIPE, FUEL(FOR FUEL FILTER TO INJECTION PUMP)
9011910033
main90119-10033
9017906070
main90179-06070
9017908022
main90179-08022
9046400190
main90464-00190
9046713001
main90467-13001
9111150620
main91111-50620
9162140610
main91621-40610
9165160820
main91651-60820
9613230600
main96132-30600
9613230800
main96132-30800
26 parts on this diagram · 1 diagram in section