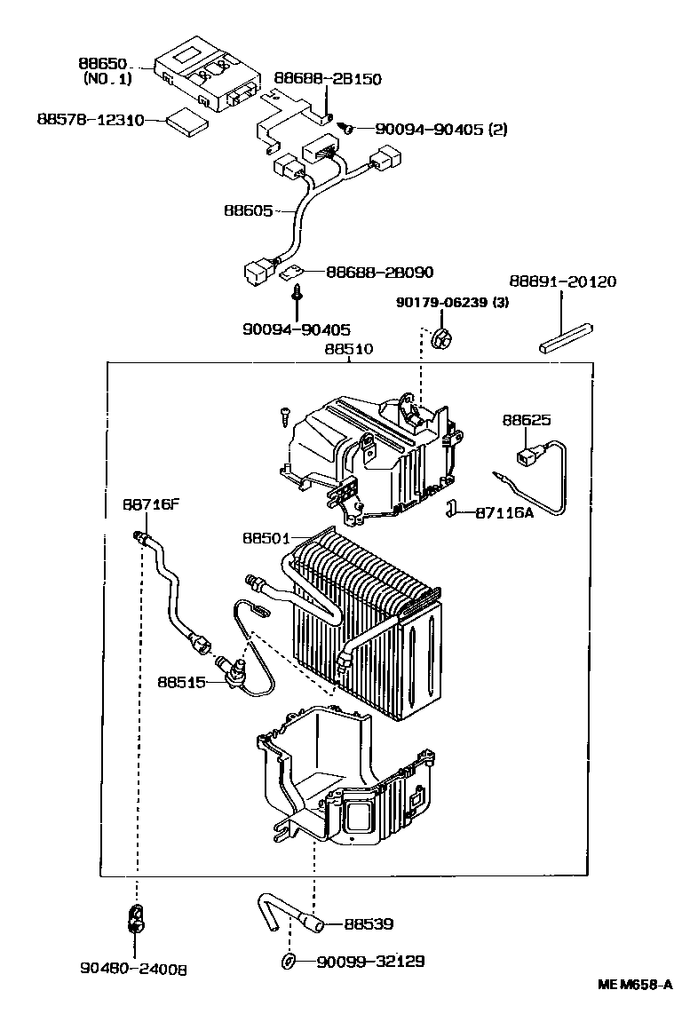
HEATING & AIR CONDITIONING - COOLER UNIT

87116ASPRING, HOLDING (FOR COOLER UNIT CASE)
88501EVAPORATOR SUB-ASSY, COOLER, NO.1
88515VALVE, COOLER EXPANSION
88539HOSE, COOLER UNIT DRAIN, NO.1
88605HARNESS SUB-ASSY, COOLER WIRING, NO.1
W(PUSH TYPE HEATER CONTROL)
W(BOOST VENTILATOR)
W(BOOST VENTILATOR)
COLD SPEC
ANNEX 25
88625THERMISTOR, COOLER, NO.1
NO.1
DEALER OPTION,NO.1
DEALER OPTION
88650AMPLIFIER ASSY, COOLER STABILIZER
DEALER OPTION
W(HEATER & BOOST VENTILATOR)
NO.1
NO.1
DEALER OPTION
88716FPIPE, COOLER REFRIGERANT LIQUID, F
8857812310PAKING, COOLER AIR DUCT
main88578-12310
886882B090BRACKET, COOLER DIAPHRAGM
main88688-2B090
886882B150BRACKET, COOLER DIAPHRAGM
main88688-2B150
8889120120PACKING (FOR COOLER)
main88891-20120
9009490405
main90094-90405
9009932129
main90099-32129
9017906239
main90179-06239
9048024008
main90480-24008
17 parts on this diagram · 2 diagrams in section