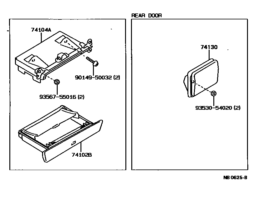
ASH RECEPTACLE

74102BBOX SUB-ASSY, FRONT ASH RECEPTACLE
74104ARETAINER SUB-ASSY, FRONT ASH RECEPTACLE
74130RECEPTACLE ASSY, REAR ASH
9014950032
main90149-50032
9353054020
main93530-54020
9356755016
main93567-55016
6 parts on this diagram · 1 diagram in section