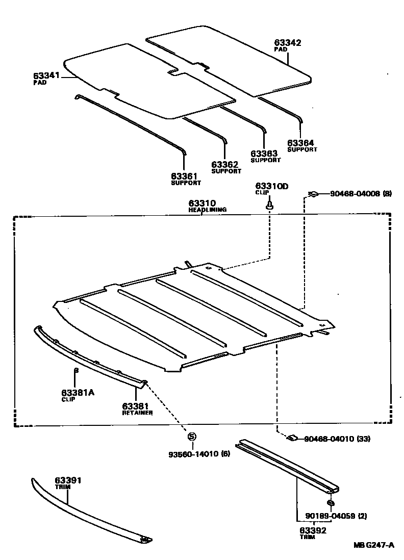
ROOF HEADLINING & SILENCER PAD

63310HEADLINING ASSY, ROOF
W/SUN ROOF,LIGHT GRAY,GRAY,TRIM1#,8#
W/SUN ROOF,BEIGE,BEIGE,TRIM3#
LIGHT GRAY,GRAY,TRIM1#,8#
BEIGE,BEIGE,TRIM3#
LUXURY PACKAGE,LIGHT GRAY,GRAY,TRIM1#,8#
FB,GRAY,GRAY,TRIM1#,8#
LUXURY PACKAGE,BEIGE,BEIGE,TRIM3#
FB,BEIGE,BEIGE,TRIM3#
LIGHT GRAY,GRAY,TRIM1#,8#
BEIGE,BEIGE,TRIM3#
FB,GRAY,GRAY,TRIM1#,8#
LUXURY PACKAGE,LIGHT GRAY,GRAY,TRIM1#,8#
LUXURY PACKAGE,BEIGE,BEIGE,TRIM3#
FB,BEIGE,BEIGE,TRIM3#
W/SUN ROOF,LIGHT GRAY,GRAY,TRIM1#,8#
W/SUN ROOF,BEIGE,BEIGE,TRIM3#
LIGHT GRAY,GRAY,TRIM1#,8#
BEIGE,BEIGE,TRIM3#
GRAY,GRAY,TRIM1#,8#
CKD SPEC,LIGHT GRAY,GRAY,TRIM1#,8#
main63310-20430-05iCT150..GEN;AT151,ST150..SED..LHD..XL..GEN;AT151,ST150..SED..RHD..(GEN,TH)198508-198711
BEIGE,BEIGE,TRIM3#
main63310-20430-05iCT150..GEN;AT151,ST150..SED..LHD..XL..GEN;AT151,ST150..SED..RHD..(GEN,TH)198310-198711
CKD SPEC,BEIGE,BEIGE,TRIM3#
GRAY,GRAY,TRIM1#,8#
CKD SPEC,LIGHT GRAY,GRAY,TRIM1#,8#
CKD SPEC,BEIGE,BEIGE,TRIM3#
BEIGE,BEIGE,TRIM3#
INDONECIAL SPEC,GRAY,GRAY,TRIM1#,8#
MALAYSIA SPEC,GRAY,GRAY,TRIM1#,8#
MALAYSIA SPEC,BEIGE,BEIGE,TRIM3#
INDONECIAL SPEC,BEIGE,BEIGE,TRIM3#
GRAY,GRAY,TRIM1#,8#
BEIGE,BEIGE,TRIM3#
GRAY,GRAY,TRIM1#,8#
BEIGE,BEIGE,TRIM3#
63310DCLIP, ROOF HEADLINING
63361SUPPORT, ROOF HEADLINING, NO.1
sub63362-22060
63362SUPPORT, ROOF HEADLINING, NO.2
sub63362-22060
63363SUPPORT, ROOF HEADLINING, NO.3
sub63362-22060
63364SUPPORT, ROOF HEADLINING, NO.4
63381RETAINER, HEADLINING, FRONT
63381ACLIP, HEADLINING RETAINER
sub90468-04073
63391TRIM, ROOF HEADLINING, FRONT
63392TRIM, ROOF HEADLINING, REAR
9018904059
main90189-04059
9046804008
main90468-04008
9046804010
main90468-04010
9356014010
main93560-14010
16 parts on this diagram · 2 diagrams in section