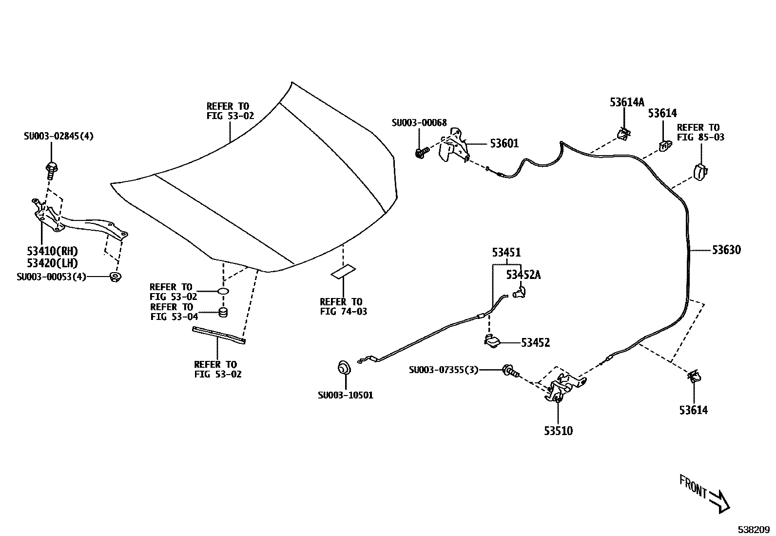
HOOD LOCK & HINGE

5302
5304
53410HINGE ASSY, HOOD, RH
53420HINGE ASSY, HOOD, LH
53451ROD, HOOD SUPPORT
53452HOLDER, HOOD STAY
53452AHOLDER, HOOD STAY
53601LEVER SUB-ASSY, HOOD LOCK CONTROL
53614CLAMP, HOOD LOCK CONTROL CABLE
53614ACLAMP, HOOD LOCK CONTROL CABLE, NO.1
NO.1:REFER ILLUST.
NO.2:REFER ILLUST.
53630CABLE ASSY, HOOD LOCK CONTROL
7403
8503
SU00300053
mainSU003-00053
SU00300068
mainSU003-00068
SU00302845
mainSU003-02845
SU00307355
mainSU003-07355
SU00310501
mainSU003-10501
19 parts on this diagram · 2 diagrams in section