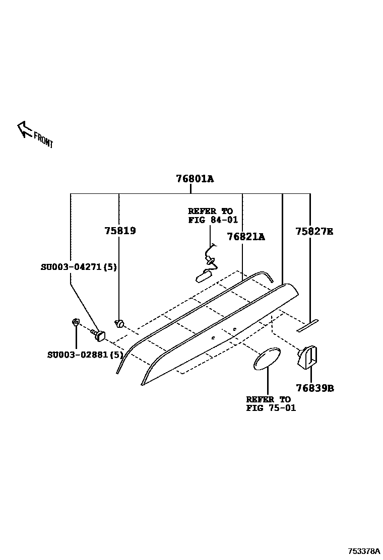
REAR MOULDING

7501
75819CLIP, LUGGAGE COMPARTMENT DOOR MOULDING
75827EPROTECTOR, LUGGAGE DOOR MOULDING
76801AGARNISH SUB-ASSY, LUGGAGE COMPARTMENT DOOR, OUTSIDE
MATERIAL COLOR,61K,D4S,DAR,G1U,K1X,K3X,M7Y
MATERIAL COLOR,D4S,DAR,G1U,K1X,K3X,M7Y,P8Y
MATERIAL COLOR,61K,D4S,G1U,H8R,K1X,K3X,M7Y
MATERIAL COLOR,61K,D4S,G1U,K1X,K3X,M7Y,PBA
MATERIAL COLOR
MATERIAL COLOR,61K,D4S,G1U,H8R,K1X,K3X,M7Y
MATERIAL COLOR,61K,D4S,G1U,K1X,K3X,M7Y,PBA
MATERIAL COLOR,61K,D4S,DAR,G1U,K1X,K3X,M7Y
MATERIAL COLOR,D4S,DAR,G1U,K1X,K3X,M7Y,P8Y
76821APROTECTOR, LUGGAGE COMPARTMENT DOOR OUTSIDE GARNISH
76839BCOVER, BACK DOOR GARNISH
8401
SU00302881
mainSU003-02881
SU00304271
mainSU003-04271
9 parts on this diagram · 1 diagram in section