E
EPC Data

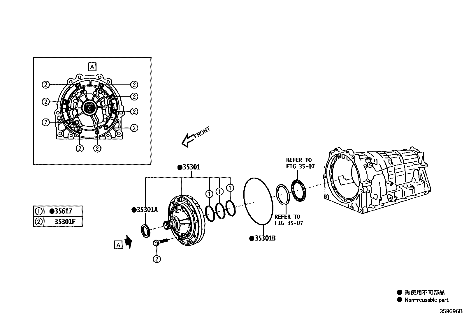
TORQUE CONVERTER, FRONT OIL PUMP & CHAIN (ATM)

Parts diagram
3507
35301BODY SUB-ASSY, FRONT OIL PUMP
mainSU00303676i201608-202104
35301ASEAL, OIL (FOR FRONT OIL PUMP)
mainSU00303629i201608-202104
35301BRING, O (FOR FRONT OIL PUMP BODY)
mainSU00303609i201608-202104
35301FBOLT (FOR FRONT OIL PUMP SETTING)
mainSU00303465i201608-202104
35617RING, CLUTCH DRUM OIL SEAL
mainSU00303703i201608-202104

6 parts on this diagram · 2 diagrams in section

TORQUE CONVERTER, FRONT OIL PUMP & CHAIN (ATM) — Toyota Parts Diagram with OEM Numbers & Prices | EPC Data