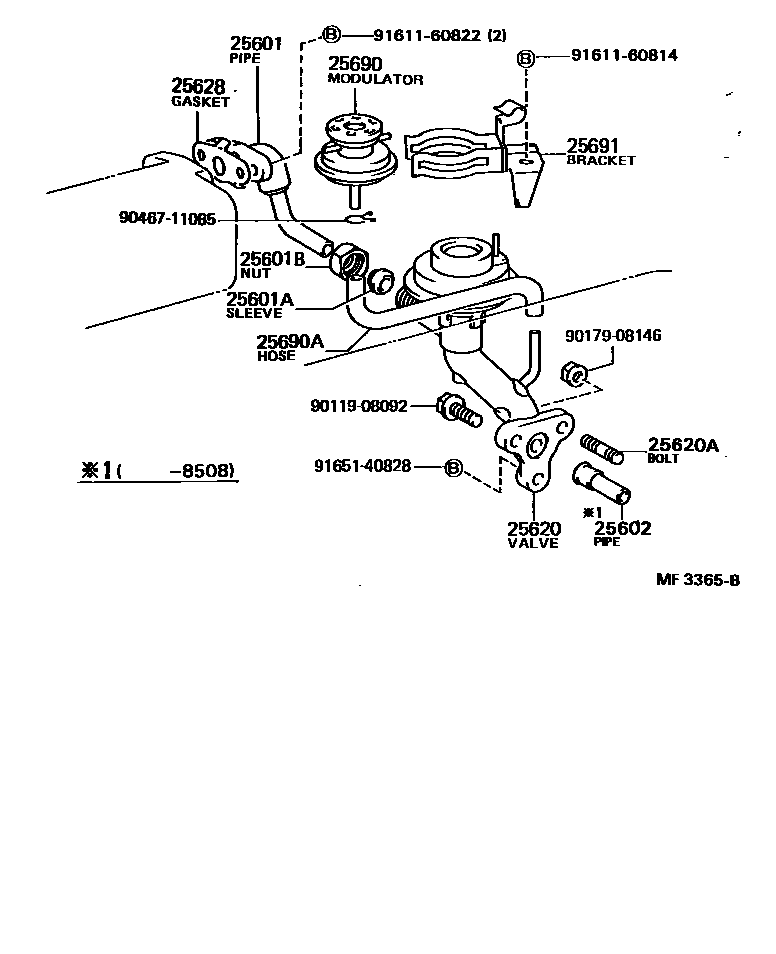
EXHAUST GAS RECIRCULATION SYSTEM

25601PIPE SUB-ASSY, EGR, NO.1
25601ASLEEVE, BALL, EGR PIPE, NO.1
25601BNUT, UNION, EGR PIPE, NO.1
25602PIPE SUB-ASSY, EGR, NO.2
25620VALVE ASSY, EGR
25620ABOLT, STUD(FOR EGR VALVE)
25628GASKET, EGR INLET
sub25628-35011
25690MODULATOR ASSY, EGR VACUUM
25690AHOSE(FOR EGR VACUUM MODULATOR)
25691BRACKET, EGR VACUUM MODULATOR
9011908092
main90119-08092
9017908146
main90179-08146
9046711085
main90467-11085
9161160814
main91611-60814
9161160822
main91611-60822
9165140828
main91651-40828
16 parts on this diagram · 2 diagrams in section