E
EPC Data
Pricing
API Docs
Sign In
Home
›
EU
›
261240
›
VENTILATION HOSE
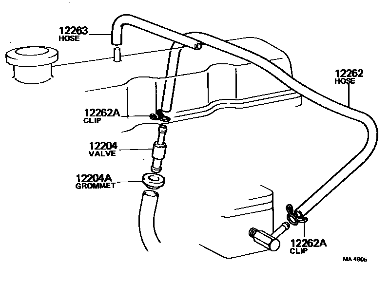
VENTILATION HOSE
0001 1
0002 1
0003 1
0004 1
0005 1
12204
VALVE SUB-ASSY, VENTILATION
main
12204-15020
i
18R#..RT132
197908-198205
sub
12204-28010
main
12204-28010
i
1X..XT130
198008-198301
main
12204-34010
i
18R..RT132
197809-197908
sub
12204-28010
sub
12204-35010
main
12204-35010
i
21RC..RT133
198108-198208
main
12204-35030
i
21RC..RT133
198208-198301
main
12204-41010
i
12R#..RT130
197809-197912
main
12204-45010
i
12RM..RT130
197912-198112
12204A
GROMMET(FOR VENTILATION SYSTEM)
main
90480-18180
i
21RC,12R#,18R#..RT13#
197809-198301
main
90480-25017
i
1X..XT130
198101-198301
12262
HOSE, VENTILATION, NO.2
main
12261-25011
i
3T..TT132
197809-197908
sub
12261-25012
main
12261-25012
i
2T,3T..TT13#
197908-198112
main
12261-34070
i
18R..RT132
197809-197908
sub
12261-34080
main
12261-34080
i
18R#..RT132
197908-198205
main
12261-37020
i
21RC..RT133
198108-198301
main
90445-14013
i
12R#..RT130
197809-198112
12262A
CLIP(FOR VENTILATION HOSE NO.2)
main
90467-13103
i
12R#..RT130
197809-198112
main
90467-15006
i
21RC..RT133
198208-198301
main
90467-16010
i
21RC,18R#..RT132,133
197809-198208
12263
HOSE, VENTILATION, NO.3
main
12261-31020
i
12R#..RT130
197809-198112
main
12262-25010
i
2T,3T..TT13#
197809-198112
main
12262-32010
i
1X..XT130
198101-198301
main
12262-34020
i
18R#..RT132
197809-198205
main
12262-35010
i
21RC..RT133
198108-198301
main
12263-32010
i
1X..XT130
198004-198009
5 parts on this diagram · 5 diagrams in section
VENTILATION HOSE — Toyota Parts Diagram with OEM Numbers & Prices | EPC Data