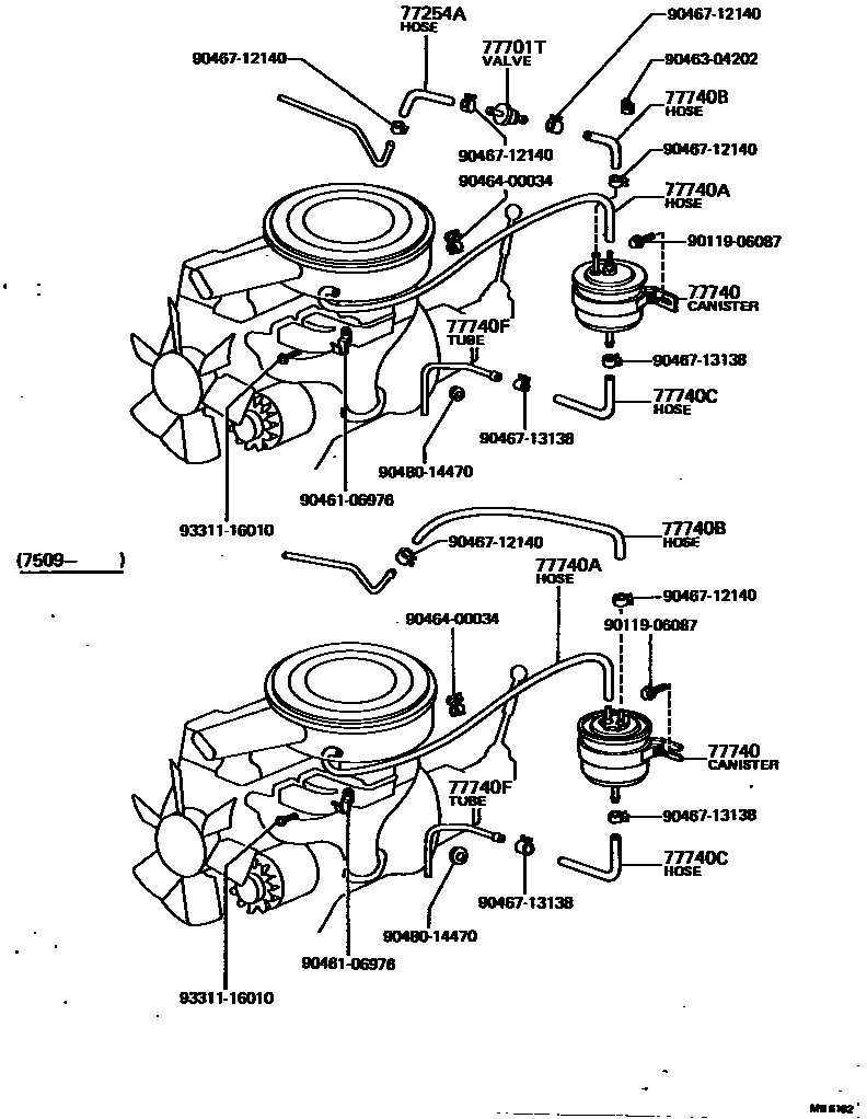
FUEL TANK & TUBE

77254TUBE, FUEL EMISSION, NO.1
77254AHOSE, FUEL, NO.1 (FOR EMISSION TUBE, NO.1)
77701TVALVE, CHECK (FOR MAIN FUEL TANK)
77740AHOSE, FUEL, NO.1(FOR CHARCOAL CANISTER)
L=650
77740BHOSE, FUEL, NO.2(FOR CHARCOAL CANISTER)
*H,L=70
77740CHOSE, FUEL, NO.3(FOR CHARCOAL CANISTER)
77740FTUBE, FUEL, NO.1(FOR CHARCOAL CANISTER)
9011906087
main90119-06087
9046106976
main90461-06976
9046304202
main90463-04202
9046400034
main90464-00034
9046712140
main90467-12140
9046713138
main90467-13138
9048014470
main90480-14470
9331116010
main93311-16010
16 parts on this diagram · 5 diagrams in section