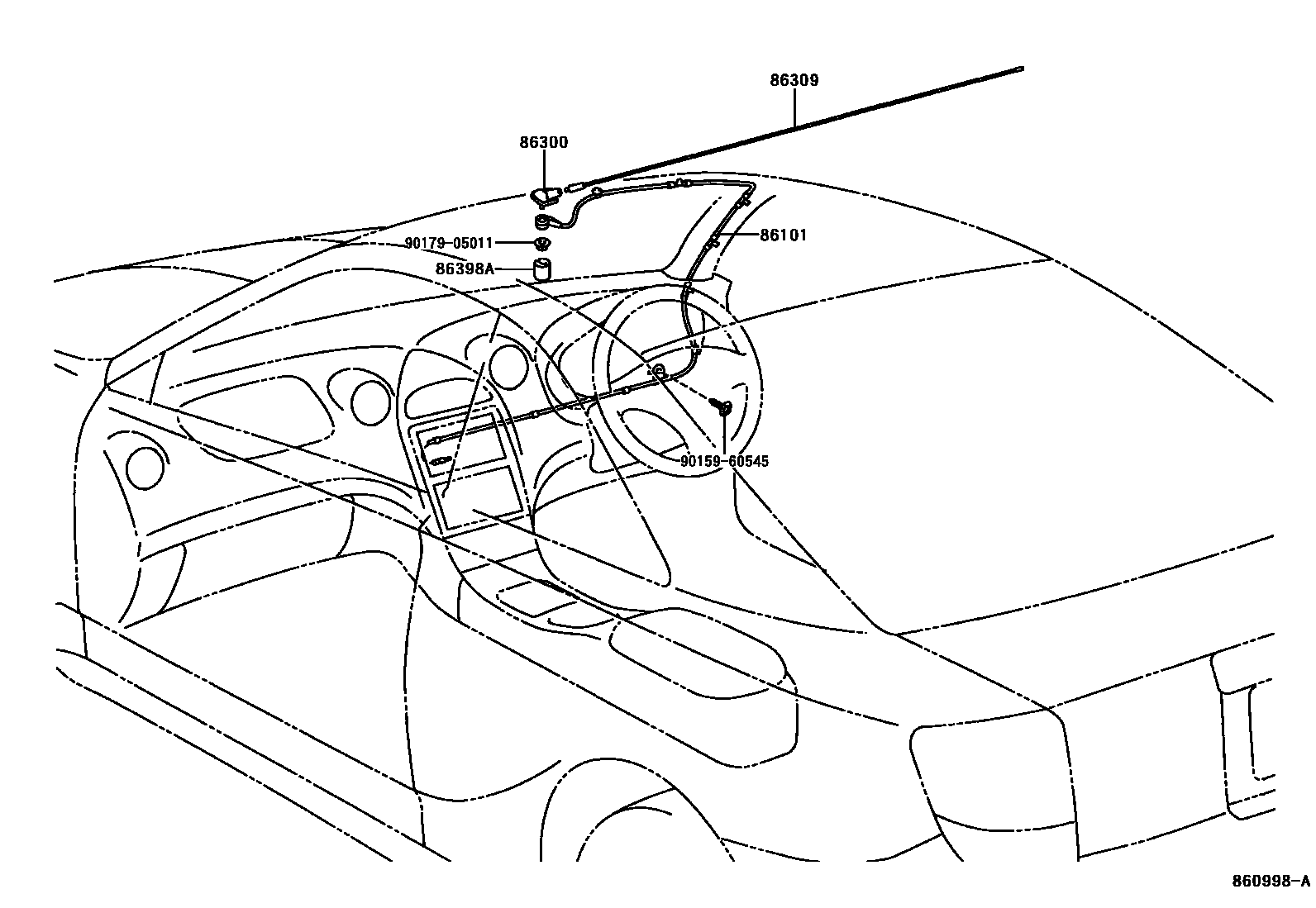
ANTENNA

86101CORD SUB-ASSY, ANTENNA
86300ANTENNA ASSY, W/HOLDER
86309POLE SUB-ASSY, PILLAR ANTENNA
86398ACAP, ANTENNA SHIELD
9015960545
main90159-60545
9017905011
main90179-05011
6 parts on this diagram · 1 diagram in section

6 parts on this diagram · 1 diagram in section