E
EPC Data

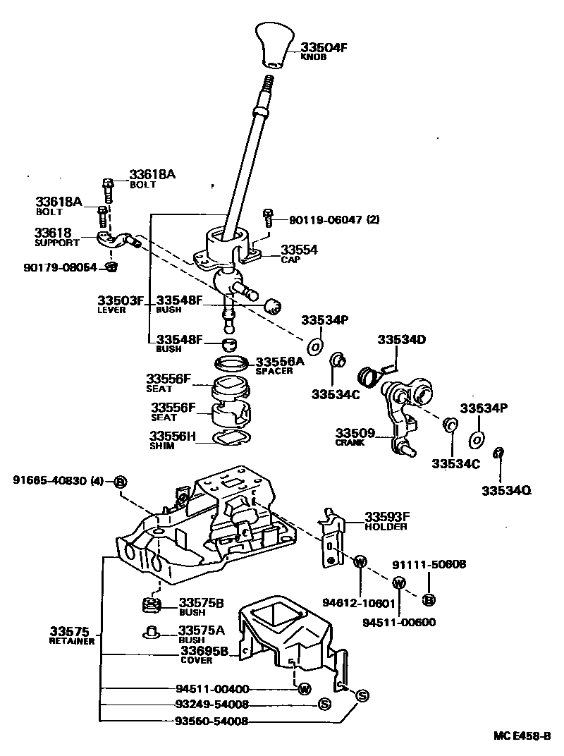
SHIFT LEVER & RETAINER

Parts diagram
33503FLEVER SUB-ASSY, SHIFT(FOR FLOOR SHIFT)
main33503-20290i198708-198902
main33503-20291i198902-198908
main33503-20320i198708-198908
main33503-20350i198708-198908
main33503-20360i198710-198809
main33503-20380i198710-198809
33504FKNOB SUB-ASSY, SHIFT LEVER
main33504-24010-11i198708-198908
NEW BLACK,TRIM2#
main33504-24010-34i198708-198908
DEEP BLUE,TRIM8#
main33504-24010-55i198708-198908
DARK BEIGE,TRIM4#
main33504-24020-11i198708-198908
NEW BLACK,TRIM2#
main33504-24020-14i198708-198908
DEEP BLUE,TRIM8#
main33504-24020-25i198708-198908
BEIGE,TRIM4#
main33542-32040-11i198708-198908
NEW BLACK,TRIM2#
main33542-32040-15i198708-198908
DARK BEIGE,TRIM4#
main33542-32040-24i198708-198908
DEEP BLUE,TRIM8#
main33542-32050-11i198708-198908
BLACK,TRIM2#
main33542-32050-15i198708-198908
DARK BEIGE,TRIM4#
main33542-32050-24i198708-198908
DEEP BLUE,TRIM8#
33509CRANK SUB-ASSY, SELECTING BELL, NO.1
main33509-12050i198708-198908
main33509-20030i198809-198908
33534CBUSH (FOR SELECTING BELLCRANK NO.1)
main90386-12013i198708-198908
33534DSPRING, TORSION (FOR SELECTING BELLCRANK NO.1)
main90508-20062i198708-198908
33534PWASHER, PLATE (FOR SELECTING BELLCRANK NO.1)
main90201-12029i198708-198908
33534QRING, E (FOR SELECTING BELLCRANK NO.1)
main96160-00900i198708-198908
33548FBUSH, NO.1, SHIFT LEVER (FOR FLOOR SHIFT)
main33548-12021i198708-198908
33554CAP, SHIFT LEVER
main33554-12040i198708-198908
33556ASPACER (FOR TRANSMISSION SHIFT LEVER BALL SEAT)
main90561-35001i198708-198908
33556FSEAT, TRANSMISSION SHIFT LEVER BALL
main33556-12020i198708-198908
LWR
main33556-12030i198708-198908
UPR
33556HSHIM (FOR TRANSMISSION SHIFT LEVER BALL SEAT)
main90564-30003i198708-198908
T=0.5,MARK C 0R 5
main90564-30004i198708-198908
T=0.6,MARK D 0R 6
main90564-30005i198708-198908
T=0.7,MARK E 0R 7
main90564-30006i198708-198908
T=0.8,MARK F 0R 8
main90564-30007i198708-198908
T=0.9,MARK G 0R 9
main90564-30008i198708-198908
T=1.0,MARK H 0R 10
main90564-30009i198708-198908
T=1.1,MARK K 0R 11
main90564-30010i198708-198908
T=1.2,MARK L 0R 12
33575RETAINER, CONTROL SHIFT LEVER (FOR FLOOR SHIFT)
main33506-20200i198708-198908
main33506-20240i198809-198908
33575ABUSH, NO.1 (FOR CONTROL SHIFT LEVER RETAINER)
main90389-08031i198708-198908
main90389-08059i198710-198908
33575BBUSH, NO.2 (FOR CONTROL SHIFT LEVER RETAINER)
main90389-09003i198708-198908
main90389-09010i198710-198908
33593FHOLDER, SPRING (FOR FLOOR SHIFT)
main33593-12020i198708-198908
33618SUPPORT, SELECTING BELLCRANK, NO.1
main33618-12040i198708-198908
33618ABOLT (FOR SELECTING BELLCRANK SUPPORT)
main90105-08078i198708-198908
*8-1.25PX28-13
main90119-06268i198708-198908
*6-1.00PX24-20
33695BCOVER, SELECTING SPRING (FOR FLOOR SHIFT)
main33695-10010i198708-198908
9011906047
9017908054
9111150608
9166540830
9324954008
9356054008
9451100400
9451100600
9461210601

28 parts on this diagram · 6 diagrams in section

SHIFT LEVER & RETAINER — Toyota Parts Diagram with OEM Numbers & Prices | EPC Data