MAT & CARPET

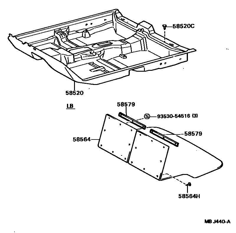
58520CARPET ASSY, FRONT FLOOR
GRAY,SHADOW GRAY,TRIM1#
BLUE,DEEP BLUE,TRIM8#
BROWN,BROWN,TRIM4#
58520CCLIP(FOR FRONT FLOOR CARPET)
BLUE,DEEP BLUE,TRIM8#
BEIGE,BEIGE,TRIM4#
58564CARPET, REAR FLOOR
GRAY,SHADOW GRAY,TRIM1#
BLUE,DEEP BLUE,TRIM8#
BROWN,BROWN,TRIM4#
58564HCLIP(FOR REAR FLOOR CARPET)
BLUE,DEEP BLUE,TRIM8#
BEIGE,BEIGE,TRIM4#
58579SET PLATE, REAR FLOOR CARPET, NO.1
9353054516
6 parts on this diagram · 1 diagram in section