E
EPC Data

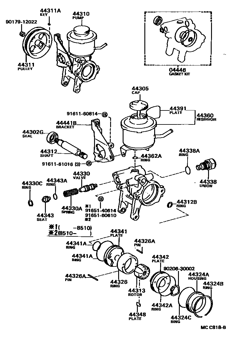
VANE PUMP & RESERVOIR (POWER STEERING)

Parts diagram
04446GASKET KIT, POWER STEERING PUMP
main04446-20030i198508-198708
44302GSEAL, OIL, NO.2(FOR VANE PUMP HOUSING)
main90311-18007i198508-198708
44305CAP SUB-ASSY, VANE PUMP OIL RESERVOIR
main44305-30020i198508-198708
main44305-32010i198508-198708
44310PUMP ASSY, VANE
main44320-12061i198508-198708
main44320-12121i198508-198708
main44320-20120i198508-198708
44311PULLEY, VANE PUMP
main44311-12040i198508-198708
main44311-12070i198508-198708
main44311-20060i198508-198708
44311AKEY, VANE PUMP PULLEY
main90280-05008i198508-198708
44312SHAFT, VANE PUMP
main44312-12030i198508-198708
44312BRING, SNAP, NO.1(FOR VANE PUMP SHAFT)
main90520-10003i198508-198708
44313ROTOR, VANE PUMP
main44313-12010i198508-198708
NO MARK,NO MARK
main44313-12020i198508-198708
MARK 1,MARK 1
main44313-12030i198508-198708
MARK 2,MARK 2
main44313-12040i198508-198708
MARK 3,MARK 3
main44313-12050i198508-198708
MARK 4,MARK 4
44324AHOUSING, PUMP, REAR
main44324-12031i198508-198708
44324BRING, HOLE SNAP(FOR PUMP HOUSING REAR)
main90521-62002i198508-198708
44324CRING, O(FOR PUMP HOUSING REAR)
main90301-52001i198508-198708
44326RING, CAM(FOR VANE PUMP)
main44325-12110i198508-198708
NO MARK,NO MARK
main44325-12120i198508-198708
MARK 1,MARK 1
main44325-12130i198508-198708
MARK 2,MARK 2
main44325-12140i198508-198708
MARK 3,MARK 3
main44325-12150i198508-198708
MARK 4,MARK 4
44326APIN, STRAIGHT(FOR VANE PUMP CAM RING)
main90250-04047i198508-198708
L=28,OD=4.0,L=28
main90250-04049i198508-198708
L=43,OD=4.0,L=43
44330VALVE ASSY, FLOW CONTROL
main44330-12130i198508-198708
MARK A,MARK A
main44330-12140i198508-198708
MARK B,MARK B
main44330-12150i198508-198708
MARK C,MARK C
main44330-12160i198508-198708
MARK D,MARK D
main44330-12170i198508-198708
MARK E,MARK E
main44330-12180i198508-198708
MARK F,MARK F
main44330-14010i198508-198708
MARK A,MARK A
main44330-14020i198508-198708
MARK B,MARK B
main44330-14030i198508-198708
MARK C,MARK C
main44330-14040i198508-198708
MARK D,MARK D
main44330-14050i198508-198708
MARK E,MARK E
main44330-14060i198508-198708
MARK F,MARK F
44330ASPRING, COMPRESSION(FOR FLOW CONTROL VALVE)
main90501-12103i198508-198708
main90501-12447i198508-198510
44330CRING, SNAP(FOR FLOW CONTROL VALVE)
main96151-01700i198508-198708
44338UNION, PRESSURE PORT
main44308-12042i198508-198708
main44308-20030i198508-198708
44338ARING, O(FOR PRESSURE PORT UNION)
main90301-19003i198508-198708
ID=19.5,OD=22.5
44341PLATE, VANE PUMP SIDE, FRONT
main44341-12030i198508-198708
44341ARING, O(FOR VANE PUMP FRONT SIDE PLATE)
main90301-25001i198508-198708
INNER
main90301-52001i198508-198708
OUTER
44342PLATE, VANE PUMP SIDE, REAR
main44342-12021i198508-198708
44342ARING, O(FOR VANE PUMP SIDE PLATE REAR)
main90301-52001i198508-198708
44343SEAT, FLOW CONTROL SPRING
main44343-12010i198508-198708
44343ARING, O(FOR FLOW CONTROL SPRING SEAT)
main96711-19014i198508-198708
44348PLATE, VANE PUMP
main44345-12010i198508-198708
L=14.997,ROTOR NO MARK
main44345-12020i198508-198708
L=14.995,ROTOR MARK 1
main44345-12030i198508-198708
L=14.993,ROTOR MARK 2
main44345-12040i198508-198708
L=14.991,ROTOR MARK 3
main44345-12050i198508-198708
L=14.989,ROTOR MARK 4
44360RESERVOIR ASSY, VANE PUMP OIL
main44306-12030i198508-198708
main44360-20070i198508-198708
main44360-20080i198508-198708
44362ARING, O(FOR VANE PUMP OIL RESERVOIR)
main90301-12003i198508-198708
44391PLATE, POWER STEERING OIL RESERVOIR CAUTION
main44391-12020i198508-198708
44441BBRACKET, PUMP, FRONT
main44441-12020i198508-198708
9017912022
9020630002
9161160814
9161161016
9165140614
9165160610

36 parts on this diagram · 3 diagrams in section

VANE PUMP & RESERVOIR (POWER STEERING) — Toyota Parts Diagram with OEM Numbers & Prices | EPC Data