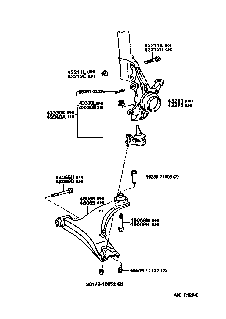
FRONT AXLE ARM & STEERING KNUCKLE

43211KBOLT (FOR STEERING KNUCKLE RH)
OD=15.0
OD=13.9
OD=13.3
OD=12.4
OD=15.0
OD=13.9
OD=13.3
OD=12.4
43211LNUT (FOR STEERING KNUCKLE RH)
43212DBOLT (FOR STEERING KNUCKLE LH)
OD=15.0
OD=13.9
OD=13.3
OD=12.4
OD=15.0
OD=13.9
OD=13.3
OD=12.4
43212ENUT (FOR STEERING KNUCKLE LH)
43330LNUT, CASTLE (FOR FRONT LOWER BALL JOINT RH)
43340BNUT, CASTLE (FOR FRONT LOWER BALL JOINT LH)
48068ARM SUB-ASSY, FRONT SUSPENSION, LOWER NO.1 RH
48068MBOLT(FOR FRONT SUSPENSION LOWER ARM NO.2 RH)
48069ARM SUB-ASSY, FRONT SUSPENSION, LOWER NO.1 LH
48069HBOLT(FOR FRONT SUSPENSION LOWER ARM NO.2 LH)
9010512122
main90105-12122
9017912052
main90179-12052
9038921003
main90389-21003
9538103025
main95381-03025
20 parts on this diagram · 1 diagram in section