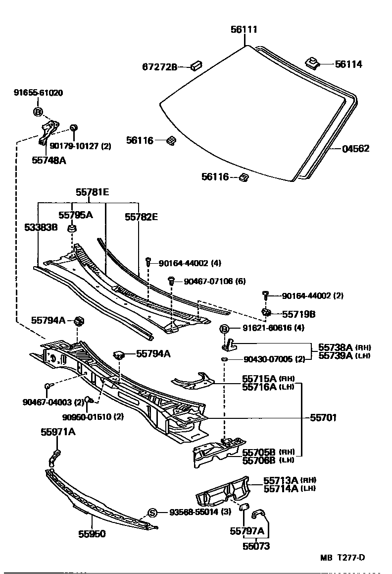
COWL PANEL & WINDSHIELD GLASS

04562DAM KIT, WINDSHIELD GLASS
53383BSEAL, HOOD TO COWL TOP
55073NOZZLE SUB-ASSY, COWL PANEL WATER EXTRACT
55701PANEL SUB-ASSY, COWL
55705BPANEL SUB-ASSY, COWL TOP SIDE, RH
55706BPANEL SUB-ASSY, COWL TOP SIDE, LH
55713APANEL, COWL TOP SIDE, RH
55714APANEL, COWL TOP SIDE, LH
55715ABRACE, COWL TOP TO APRON, RH
55716ABRACE, COWL TOP TO APRON, LH
55719BBRACKET, COWL TOP OUTER PANEL, NO.2
55738ASTOPPER, HOOD, RH
55739ASTOPPER, HOOD, LH
55748ABRACE, COWL TOP INNER TO PILLAR
55781ELOUVER SUB-ASSY, COWL TOP VENTILATOR
COLD SPEC
55782EPROTECTOR, COWL TOP VENTILATOR LOUVER
55794ABRACKET, WEATHERSTRIP WIPER PIVOT GUIDE, NO.2
LH
RH
55795ASEAL, WIPER MOTOR SERVICE HOLE
55797ASEAL, COWL WATER EXTRACT
55950NOZZLE ASSY, DEFROSTER
55971ADUCT, SIDE DEFROSTER NOZZLE, NO.1
56111GLASS, WINDSHIELD
*TL,T=4.7,BLUE
*TL,T=4.7,BLUE
56114RETAINER, WINDSHIELD GLASS
56116SPACER, WINDSHIELD GLASS
67272BCUSHION, BACK DOOR STOPPER, NO.2
9016444002
main90164-44002
9017910127
main90179-10127
9043007005
main90430-07005
9046704003
main90467-04003
9046707106
main90467-07106
9095801510
main90958-01510
9162160616
main91621-60616
9165561020
main91655-61020
9356855014
main93568-55014
34 parts on this diagram · 1 diagram in section