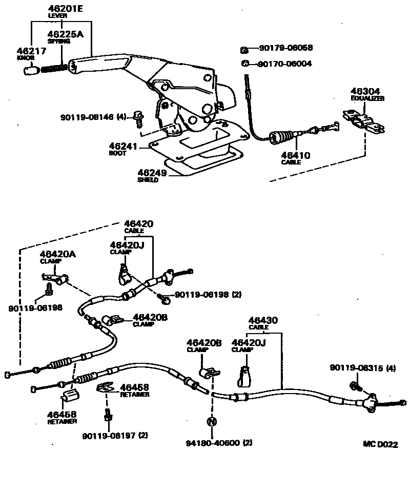
PARKING BRAKE & CABLE

46201ELEVER SUB-ASSY, PARKING BRAKE
46217KNOB, PARKING BRAKE RELEASE ROD
46225ASPRING, COMPRESSION(FOR PARKING BRAKE PAWL ROD)
46241BOOT, PARKING BRAKE LEVER
46249SHIELD, PARKING BRAKE HOLE
46304EQUALIZER SUB-ASSY, PARKING BRAKE
46410CABLE ASSY, PARKING BRAKE, NO.1
46420CABLE ASSY, PARKING BRAKE, NO.2
46420ACLAMP, NO.1(FOR PARKING BRAKE CABLE)
46420BCLAMP, NO.2(FOR PARKING BRAKE CABLE)
46420JCLAMP, NO.3(FOR PARKING BRAKE CABLE)
46430CABLE ASSY, PARKING BRAKE, NO.3
46458RETAINER, CABLE
sub46458-50010
9011906197
main90119-06197
9011906198
main90119-06198
9011906315
main90119-06315
9011908146
main90119-08146
9017006004
main90170-06004
9017906058
main90179-06058
9418040600
main94180-40600
20 parts on this diagram · 2 diagrams in section