E
EPC Data
Pricing
API Docs
Sign In
Home
›
EU
›
252230
›
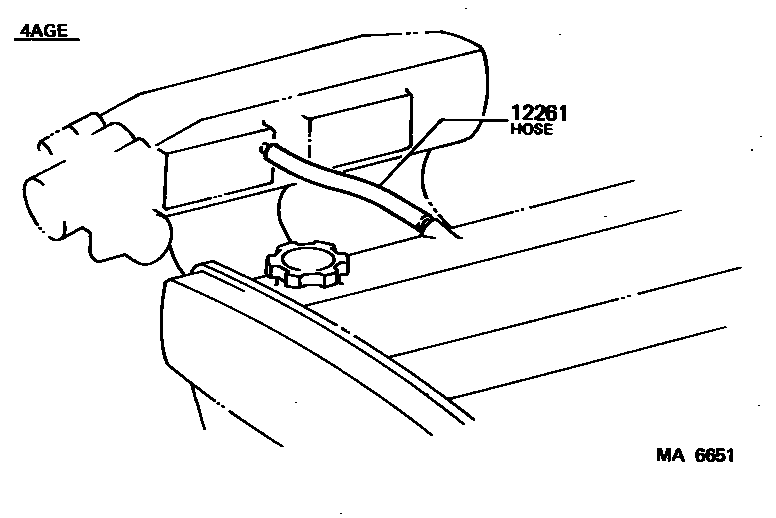
VENTILATION HOSE
VENTILATION HOSE
0001 1
0002 1
0003 1
0004 1
0005 1
0006 1
0007 1
0008 1
12261
HOSE, VENTILATION
main
12261-16020
i
4AGE..AA63
198308-198507
main
12261-41090
i
5ME..MA61
198308-198512
main
12261-43010
i
5MGE..MA61
198112-198512
main
12261-63010
i
2SC..SA63
198308-198408
main
12262-88250
i
18RG..RA63
198108-198308
1 parts on this diagram · 8 diagrams in section
VENTILATION HOSE — Toyota Parts Diagram with OEM Numbers & Prices | EPC Data