E
EPC Data
Pricing
API Docs
Sign In
Home
›
EU
›
242520
›
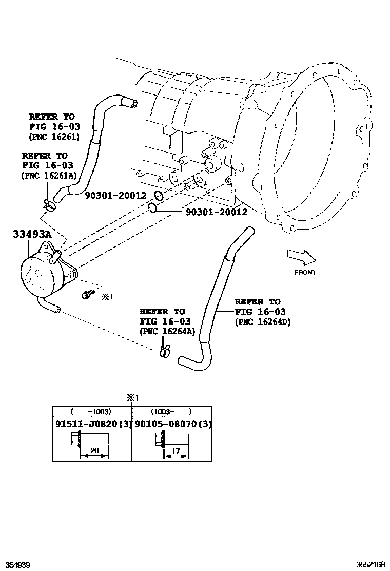
OIL COOLER & TUBE (ATM)
OIL COOLER & TUBE (ATM)
0001 1A960E
0002 1A760E
1603
33493A
COOLER, TRANSMISSION OIL(ATF WARMER)
main
33493-22030
i
GSE20..ATM
¥13,200
200508-201003
main
33493-30020
i
GSE20..ATM
¥10,600
201003-201304
9010508070
main
90105-08070
¥100
9030120012
main
90301-20012
¥170
91511J0820
main
91511-J0820
¥130
5 parts on this diagram · 2 diagrams in section
OIL COOLER & TUBE (ATM) — Toyota Parts Diagram with OEM Numbers & Prices | EPC Data