HEADLAMP CLEANER

8401
8503
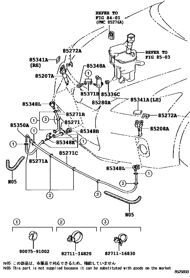
85207AACTUATOR SUB-ASSY, HEADLAMP WASHER, RH
85208AACTUATOR SUB-ASSY, HEADLAMP WASHER, LH
85271HOSE, HEADLAMP CLEANER, NO.1
main90075-15053
main90075-15058
main90075-15062
main90075-15069
main90075-15084
main90075-15087
main90075-15090
main90075-15095
85271AHOSE, HEADLAMP CLEANER, NO.2
85271BHOSE, HEADLAMP CLEANER, NO.3
85271CHOSE, HEADLAMP CLEANER, NO.4
85272ACLAMP, HEADLAMP CLEANER, NO.1
85280AMOTOR AND PUMP ASSY, HEADLAMP CLEANER
85336CPACKING, HEADLAMP CLEANER MOTOR
85341ACOVER,HEADLAMP CLEANER WASHER NOZZLE
85348AJOINT, HEADLAMP CLEANER HOSE, NO.1
85348BJOINT, HEADLAMP CLEANER HOSE, NO.2
85348KJOINT, HEADLAMP CLEANER ELBOW, NO.1
85348LJOINT, HEADLAMP CLEANER ELBOW, NO.2
85350AJOINT, HEADLAMP CLEANER ELBOW, NO.3
85371BHOSE, HEADLAMP CLEANER (FROM MOTOR TO JOINT)
8271116820WIRE, FUSE TO FUSE(FOR COMBUSTION HEATER)
main82711-16820
8271116830WIRE, FUSE TO FUSE(FOR COMBUSTION HEATER)
main82711-16830
9007591002
main90075-91002
21 parts on this diagram · 2 diagrams in section