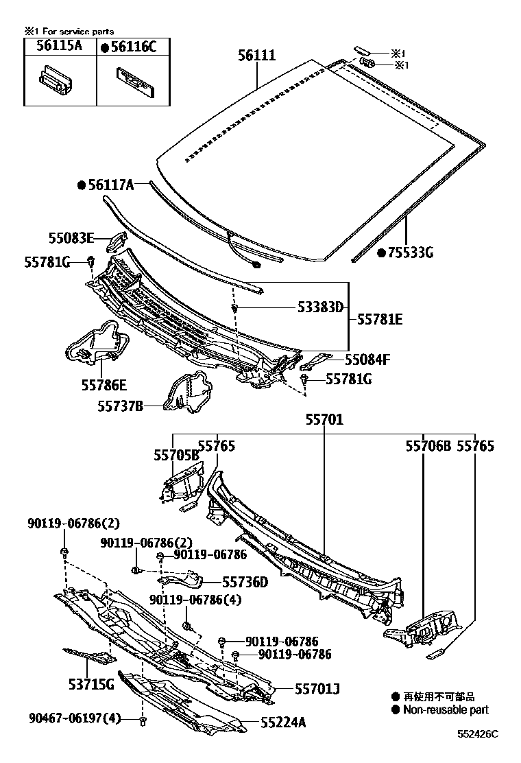
COWL PANEL & WINDSHIELD GLASS

53383DCLIP(FOR HOOD TO COWL TOP SEAL)
53715GEXTENSION, FRONT FENDER APRON, REAR RH
55083EVENTILATOR SUB-ASSY, COWL SIDE, RH
55084FVENTILATOR SUB-ASSY, COWL SIDE, LH
55224AINSULATOR, DASH PANEL, OUTER NO.2
55701JPANEL SUB-ASSY, COWL TOP, OUTER
55705BPANEL SUB-ASSY, COWL TOP SIDE, RH
55706BPANEL SUB-ASSY, COWL TOP SIDE, LH
55736DREINFORCEMENT, COWL BODY MOUNTING, LH
55737BSEAL, HEATER AIR DUCT SPLASH SHIELD, NO.1
55765BRACKET, HOOD DAMPER MOUNTING
55781ELOUVER SUB-ASSY, COWL TOP VENTILATOR
55781GCLIP, COWL TOP VENTILATOR LOUVER
55786EPLATE, COWL TOP VENTILATOR LOUVER
56115ASTOPPER, WINDSHIELD GLASS, NO.1
56116CSTOPPER, WINDSHIELD GLASS, NO.2
56117ADAM, WINDOW GLASS ADHESIVE
75533GMOULDING, WINDSHIELD, OUTSIDE
9011906786
main90119-06786
9046706197
main90467-06197
22 parts on this diagram · 2 diagrams in section