REAR MOULDING

6104
7501
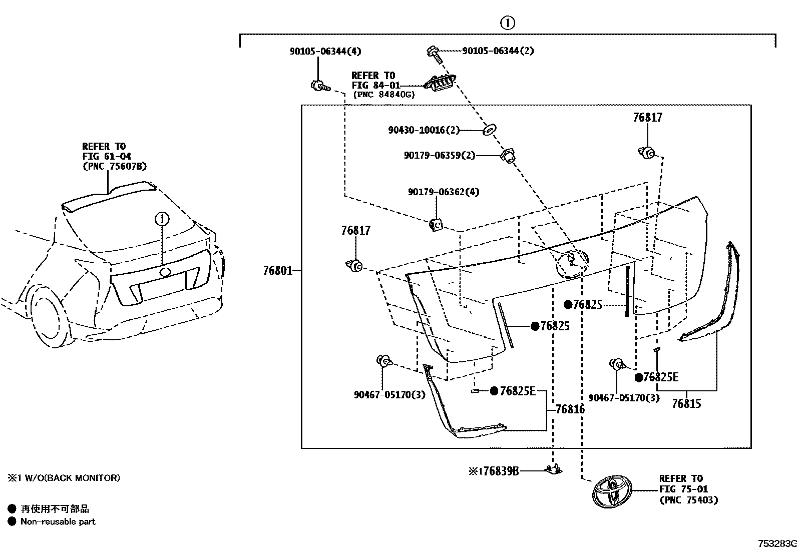
76801GARNISH SUB-ASSY, BACK DOOR, OUTSIDE
SINGAPORE SPEC&AUDIO-AUDIO LESS & 6SPEAKER,SUPER WHITE 2,040
RUSSIA SPEC,SUPER WHITE 2,040
SUPER WHITE 2,040
WHITE PEARL CS.,070
SINGAPORE SPEC&AUDIO-AUDIO LESS & 6SPEAKER,WHITE PEARL CS.,070
RUSSIA SPEC,WHITE PEARL CS.,070
SILVER ME.,1F7
SINGAPORE SPEC&AUDIO-AUDIO LESS & 6SPEAKER,SILVER ME.,1F7
RUSSIA SPEC,SILVER ME.,1F7
GRAY ME.,1G3
SINGAPORE SPEC&AUDIO-AUDIO LESS & 6SPEAKER,GRAY ME.,1G3
RUSSIA SPEC,GRAY ME.,1G3
ATTITUDE BLACK MC.,218
SINGAPORE SPEC&AUDIO-AUDIO LESS & 6SPEAKER,ATTITUDE BLACK MC.,218
RUSSIA SPEC,ATTITUDE BLACK MC.,218
RUSSIA SPEC,EMOTIONAL RED,3T7
EMOTIONAL RED,3T7
SINGAPORE SPEC&AUDIO-AUDIO LESS & 6SPEAKER,EMOTIONAL RED,3T7
STEEL BLONDE,4X1
SINGAPORE SPEC&AUDIO-AUDIO LESS & 6SPEAKER,STEEL BLONDE,4X1
THERMO-TECT LIME GREEN,6W7
SINGAPORE SPEC&AUDIO-AUDIO LESS & 6SPEAKER,THERMO-TECT LIME GREEN,6W7
FROSTY GREEN MC.,781
DK.BLUE M.M.,8W7
SINGAPORE SPEC&AUDIO-AUDIO LESS & 6SPEAKER,DK.BLUE M.M.,8W7
RUSSIA SPEC,DK.BLUE M.M.,8W7
SUPER WHITE 2,040
WHITE PEARL CS.,070
PLATINUM WHITE PEARL MC.,089
SILVER ME.,1F7
GRAY ME.,1G3
ATTITUDE BLACK MC.,218
BLACKISH AGEHA GF.,221
EMOTIONAL RED 2,3U5
STEEL BLONDE ME.,4X1
FROSTY GREEN MC.,781
BLUE ME.,8X7
76815MOULDING, BACK DOOR OUTSIDE GARNISH, LOWER RH
76816MOULDING, BACK DOOR OUTSIDE GARNISH, LOWER LH
76817CLIP, BACK DOOR OUTSIDE GARNISH
76825PROTECTOR, BACK DOOR OUTSIDE GARNISH
76825EPROTECTOR, BACK DOOR OUTSIDE GARNISH, NO.2
76839BCOVER, BACK DOOR GARNISH
8401
9010506344
9017906359
9017906362
9043010016
9046705170
15 parts on this diagram · 2 diagrams in section