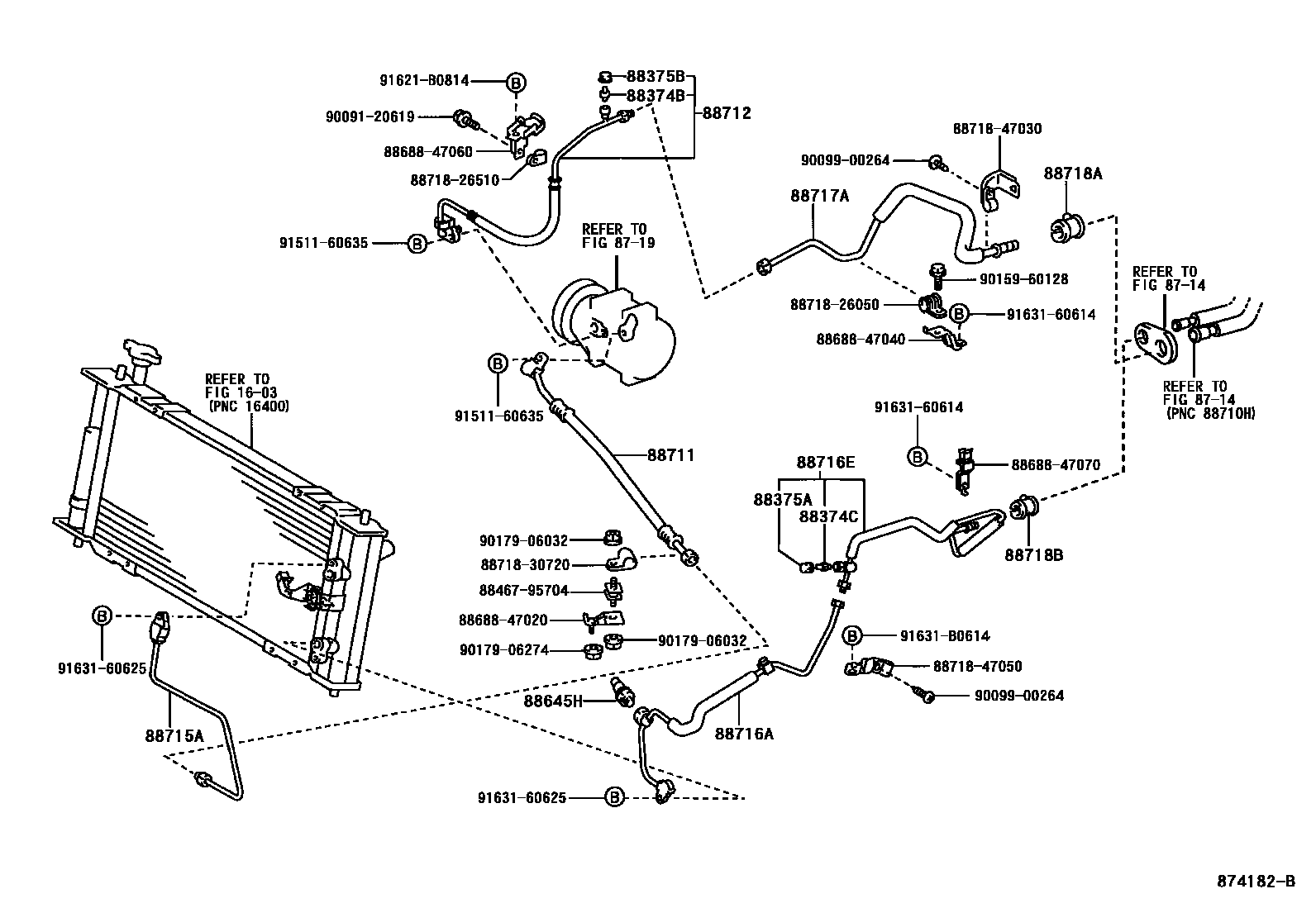
HEATING & AIR CONDITIONING - COOLER PIPING

1603
8714
8719
88374BVALVE, SERVICE, NO.1
88374CVALVE, SERVICE, NO.2
88375ACAP, SERVICE VALVE (FOR COOLER PIPE)
88375BCAP, SERVICE VALVE, NO.1
88645HSWITCH, PRESSURE NO.1
88711HOSE, COOLER REFRIGERANT DISCHARGE, NO.1
88712HOSE, COOLER REFRIGERANT SUCTION, NO.1
88715APIPE, COOLER REFRIGERANT DISCHARGE, A
88716APIPE, COOLER REFRIGERANT LIQUID, A
88716EPIPE, COOLER REFRIGERANT LIQUID, E
88717APIPE, COOLER REFRIGERANT SUCTION, A
88718ACLAMP, NO.1(FOR COOLER REFRIGERANT PIPE)
88718BCLAMP, NO.2(FOR COOLER REFRIGERANT PIPE)
8846795704CUSHION, COOLER CONDENSER, NO.1
main88467-95704
8868847020BRACKET, COOLER DIAPHRAGM
main88688-47020
8868847040BRACKET, COOLER DIAPHRAGM
main88688-47040
8868847060BRACKET, COOLER DIAPHRAGM
main88688-47060
8868847070BRACKET, COOLER DIAPHRAGM
main88688-47070
8871826050PIPE, COOLER REFRIGERANT SUCTION, NO.2
main88718-26050
8871826510PIPE, COOLER REFRIGERANT SUCTION, NO.2
main88718-26510
8871830720PIPE, COOLER REFRIGERANT SUCTION, NO.2
main88718-30720
8871847030PIPE, COOLER REFRIGERANT SUCTION, NO.2
main88718-47030
8871847050PIPE, COOLER REFRIGERANT SUCTION, NO.2
main88718-47050
9009120619
main90091-20619
9009900264
main90099-00264
9015960128
main90159-60128
9017906032
main90179-06032
9017906274
main90179-06274
9151160635
main91511-60635
91621B0814
main91621-B0814
9163160614
main91631-60614
9163160625
main91631-60625
91631B0614
main91631-B0614
36 parts on this diagram · 3 diagrams in section