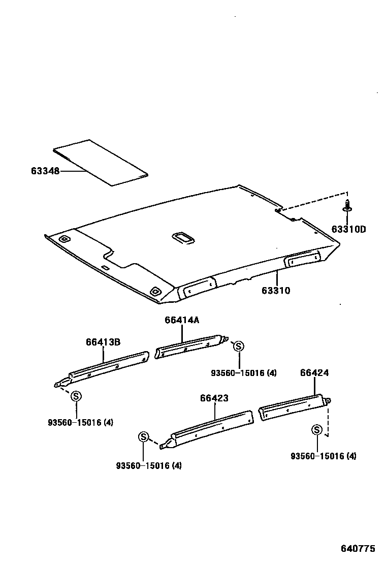
ROOF HEADLINING & SILENCER PAD

63310HEADLINING ASSY, ROOF
LT. AMETHYST,TRIM9#
LT. AMETHYST,TRIM9#
63310DCLIP, ROOF HEADLINING
63348PAD, ROOF SILENCER, NO.8
66413BSPACER, SIDE RAIL, FRONT RH
66414ASPACER, SIDE RAIL, REAR RH
66423SPACER, SIDE RAIL, FRONT LH
66424SPACER, SIDE RAIL, REAR LH
9356015016
8 parts on this diagram · 1 diagram in section