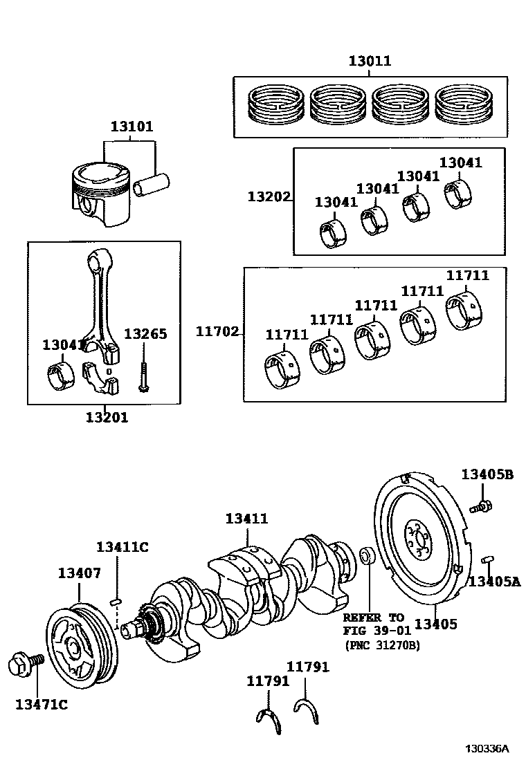
CRANKSHAFT & PISTON

11702BEARING SET, CRANKSHAFT
11711BEARING, CRANKSHAFT
11791WASHER, CRANKSHAFT THRUST, UPPER
13011RING SET, PISTON
STD
13041BEARING, CONNECTING ROD
MARK 1,MARK 1
MARK 2,MARK 2
MARK 3,MARK 3
13101PISTON SUB-ASSY, W/PIN
STD
13201ROD SUB-ASSY, CONNECTING
sub13201-29425
13202BEARING SET, CONNECTING ROD
U/S 0.25
13265BOLT, CONNECTING ROD
13405FLYWHEEL SUB-ASSY
13405APIN, STRAIGHT(FOR FLYWHEEL)
L=18,OD=8
13405BBOLT, FLYWHEEL SETTING
13407DAMPER SUB-ASSY, CRANKSHAFT
13411CRANKSHAFT
13411CPIN, STRAIGHT(FOR CRANKSHAFT)
sub90250-03095
13471CBOLT(FOR CRANKSHAFT PULLEY SET)
3901
17 parts on this diagram · 1 diagram in section