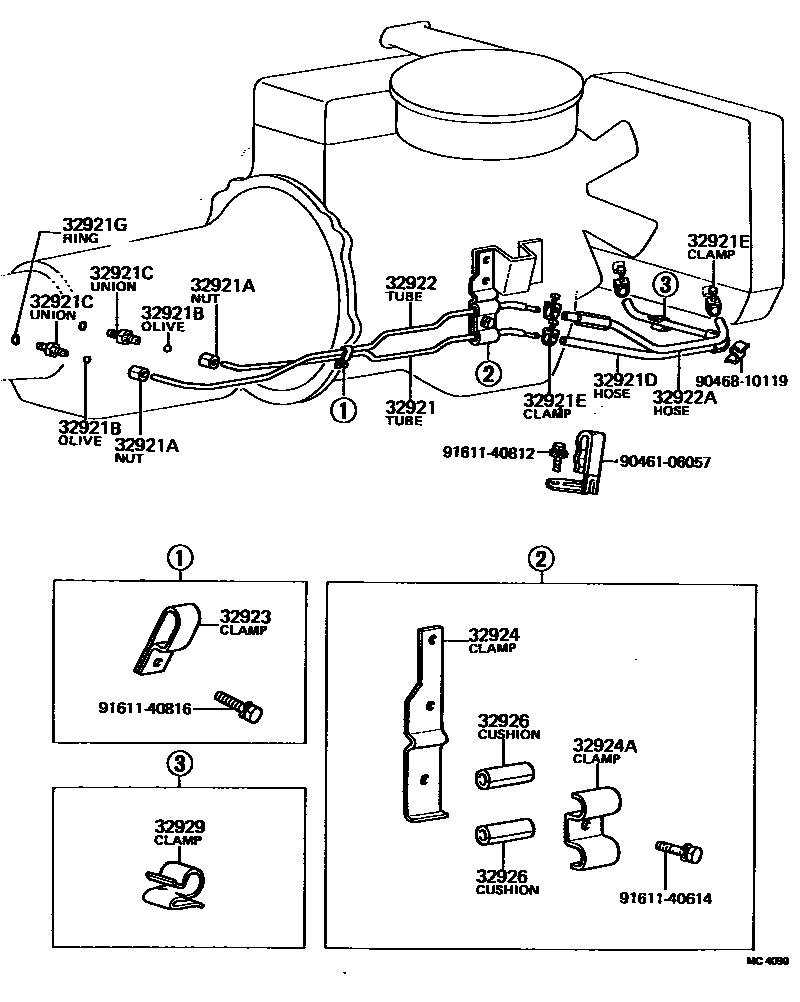
OIL COOLER & TUBE (ATM)

32921TUBE, OIL COOLER INLET, NO.1
32921ANUT, UNION(FOR OIL COOLER TUBE)
32921BOLIVE(FOR OIL COOLER TUBE)
32921CUNION(FOR OIL COOLER TUBE)
32921ECLAMP, HOSE(FOR OIL COOLER)
sub90460-14085
32921GRING, O(FOR OIL COOLER TUBE UNION)
32922TUBE, OIL COOLER OUTLET, NO.1
32923CLAMP, AUTOMATIC TRANSMISSION OIL COOLER TUBE
32924CLAMP, OIL COOLER TUBE, NO.2
32924ACLAMP(FOR OIL COOLER TUBE, NO.2)
32926CUSHION, OIL COOLER TUBE(ATM)
L=25,ID=8
32929CLAMP, FLEXIBLE HOSE, NO.2
9046106057
main90461-06057
9046810119
main90468-10119
9161140614
main91611-40614
9161140812
main91611-40812
9161140816
main91611-40816
19 parts on this diagram · 1 diagram in section