HEATING & AIR CONDITIONING - HEATER UNIT & BLOWER

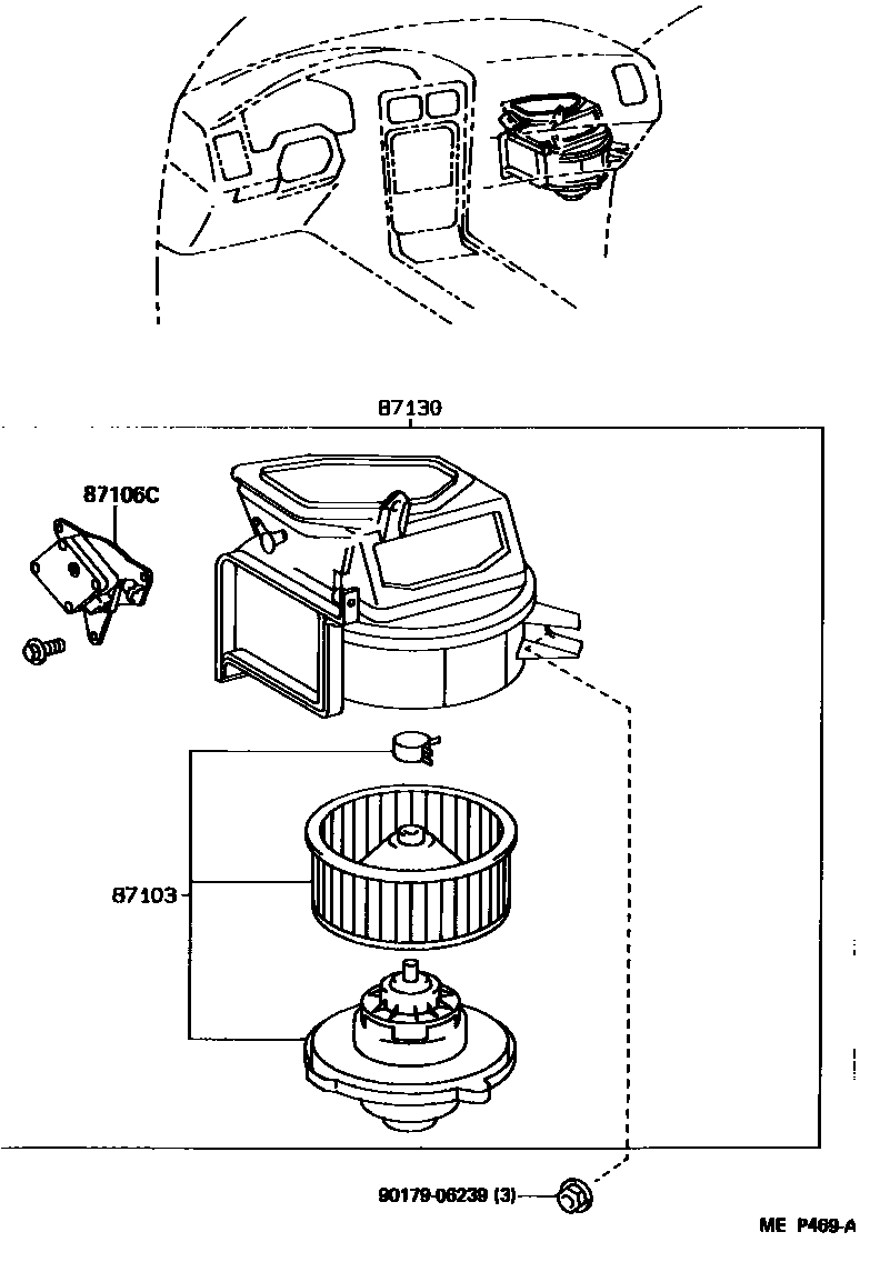
87103MOTOR SUB-ASSY, HEATER BLOWER, W/FAN
sub87103-42020
87106CSERVO SUB-ASSY, DAMPER(FOR BLOWER)
9017906239
main90179-06239
4 parts on this diagram · 2 diagrams in section

4 parts on this diagram · 2 diagrams in section