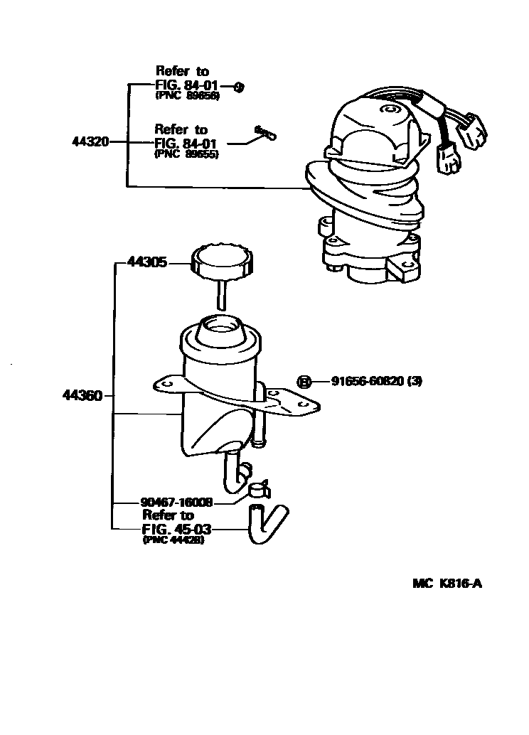
VANE PUMP & RESERVOIR (POWER STEERING)

44305CAP SUB-ASSY, VANE PUMP OIL RESERVOIR
44360RESERVOIR ASSY, VANE PUMP OIL
4503
8401
9046716008
main90467-16008
9165660820
main91656-60820
7 parts on this diagram · 1 diagram in section

7 parts on this diagram · 1 diagram in section