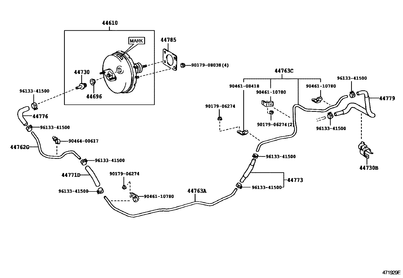
BRAKE BOOSTER & VACUUM TUBE

44610BOOSTER ASSY, BRAKE
MARK = 44610-17341
44696GROMMET, CHECK VALVE
44730VALVE ASSY, VACUUM CHECK(FOR BRAKE)
44730BCLAMP, VACUUM HOSE
44762GTUBE, VACUUM CHECK VALVE TO CONNECTOR
44763CTUBE, HOSE TO HOSE, NO.2
44771DHOSE, VACUUM TUBE CONNECTOR
44773HOSE, VACUUM, NO.2
44776HOSE, BRAKE BOOSTER
44779HOSE, UNION TO CONNECTOR
44785GASKET, BRAKE BOOSTER
9017906274
main90179-06274
9017908038
main90179-08038
9046108418
main90461-08418
9046110780
main90461-10780
9046400617
main90464-00617
9613341500
main96133-41500
18 parts on this diagram · 2 diagrams in section