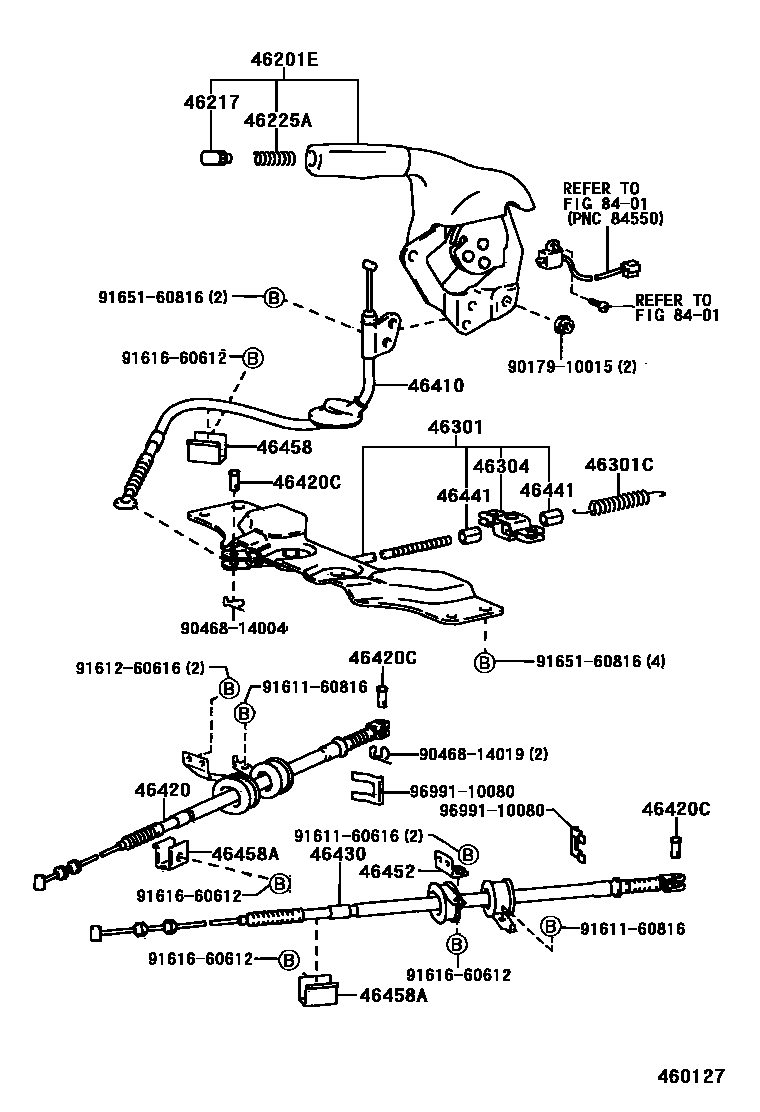
PARKING BRAKE & CABLE

46201ELEVER SUB-ASSY, PARKING BRAKE
46217KNOB, PARKING BRAKE RELEASE ROD
46225ASPRING, COMPRESSION(FOR PARKING BRAKE PAWL ROD)
46301LEVER SUB-ASSY, PARKING BRAKE INTERMEDIATE
46301CSPRING, TENSION(FOR INTERMEDIATE LEVER)
46304EQUALIZER SUB-ASSY, PARKING BRAKE
46410CABLE ASSY, PARKING BRAKE, NO.1
46420CPIN, W/HOLE(FOR PARKING BRAKE CABLE)
46441NUT, WIRE ADJUSTING, NO.1
46452BRACKET, PARKING BRAKE CABLE SUPPORT, NO.2
8401
9017910015
main90179-10015
9046814004
main90468-14004
9046814019
main90468-14019
9161160616
main91611-60616
9161160816
main91611-60816
9161260616
main91612-60616
9161660612
main91616-60612
9165160816
main91651-60816
9699110080
main96991-10080
24 parts on this diagram · 1 diagram in section