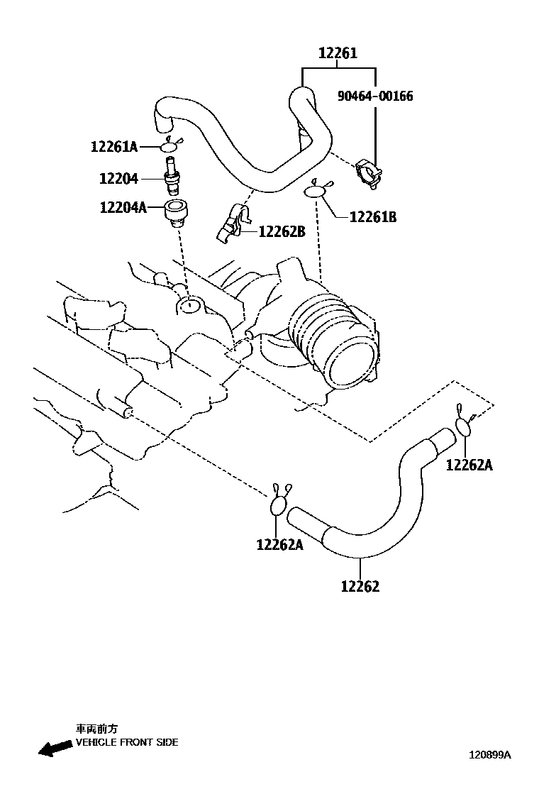
VENTILATION HOSE

12204VALVE SUB-ASSY, VENTILATION
12204AGROMMET(FOR VENTILATION SYSTEM)
12261HOSE, VENTILATION
12261ACLIP OR CLAMP(FOR VENTILATION HOSE)
NO.2,TYPE B:REF ILL.
NO.2
NO.1
NO.2,TYPE A:REF ILL.
12261BCLIP OR CLAMP(FOR VENTILATION HOSE)
12262HOSE, VENTILATION, NO.2
12262ACLIP(FOR VENTILATION HOSE NO.2)
12262BCLAMP(FOR VENTILATION HOSE)
9046400166
main90464-00166
9 parts on this diagram · 4 diagrams in section