E
EPC Data

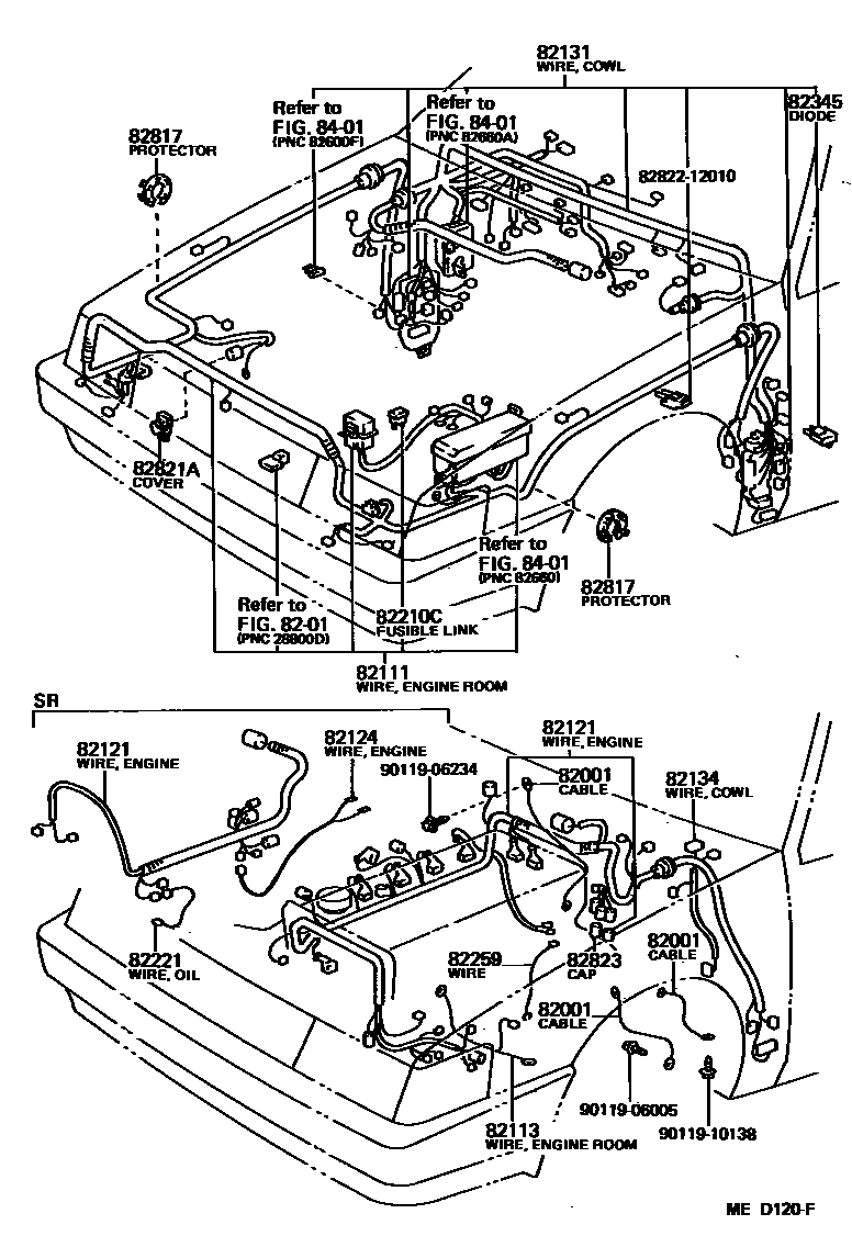
WIRING & CLAMP

Parts diagram
82001CABLE, BOND, NO.1
main90980-07118i198305-198306
MISSION-MEMBER,L=220
main90980-07147i198308-198412
ENGINE-COWL
main90980-07148i198306-198707
MISSION-MEMBER,L=260
main90980-07200i198305-198309
ENGINE-COWL
main90980-07226i198305-198707
CLACH-FLOOR
main90980-07233i198309-198704
ENGINE-COWL
main90980-07253i198412-198707
ENGINE-COWL
8201BATTERY & BATTERY CABLE
82111WIRE, ENGINE ROOM MAIN
main82111-12350i198305-198505
main82111-12360i198308-198505
main82111-12390i198305-198505
main82111-12400i198308-198505
main82111-12410i198308-198502
main82111-12420i198308-198505
main82111-12430i198308-198503
*FRG
main82111-12431i198503-198505
*FRG
main82111-12460i198308-198312
main82111-12461i198312-198505
main82111-12510i198308-198505
main82111-12830i198505-198704
main82111-12840i198505-198608
main82111-12841i198608-198609
main82111-12842i198609-198704
main82111-12870i198505-198704
main82111-12880i198505-198608
main82111-12881i198608-198609
main82111-12882i198609-198704
main82111-12890i198505-198608
main82111-12891i198608-198609
main82111-12892i198609-198704
main82111-1A010i198505-198704
*FRG
main82111-1A010i198505-198608
main82111-1A011i198608-198609
main82111-1A012i198609-198704
main82111-1A030i198505-198608
main82111-1A031i198608-198609
main82111-1A032i198609-198707
main82111-1A050i198505-198608
main82111-1A051i198608-198609
main82111-1A052i198609-198704
main82111-1A450i198611-198704
W/DIM DIP LIGHT SYSTEM
82113WIRE, ENGINE ROOM, NO.3
main82113-12090i198305-198707
82121WIRE, ENGINE
main82121-12180i198308-198502
main82121-12200i198308-198505
main82121-12210i198308-198505
main82121-12240i198305-198505
main82121-12260i198305-198505
main82121-12300i198502-198503
main82121-12301i198503-198505
main82121-12301i198504-198505
FRG SPEC
main82121-12800i198505-198707
main82121-12830i198505-198704
main82121-12840i198505-198704
main82121-12861i198505-198704
main82121-12880i198505-198704
82124WIRE, ENGINE, NO.4
main82124-12040i198308-198502
82131WIRE, COWL
main82131-12500i198502-198503
main82131-12501i198504-198505
FRG SPEC
main82131-12501i198503-198505
main82131-12590i198305-198505
main82131-12600i198305-198505
main82131-12610i198308-198505
main82131-12630i198308-198502
main82131-12640i198308-198505
main82131-12650i198308-198505
*FRG
main82131-12660i198305-198505
main82131-12670i198308-198405
main82131-12671i198405-198505
main82131-12680i198308-198405
main82131-12681i198405-198505
main82131-12710i198308-198505
main82131-1A290i198505-198704
main82131-1A300i198505-198704
main82131-1A321i198505-198704
main82131-1A330i198505-198704
main82131-1A340i198505-198704
*FRG
main82131-1A350i198505-198704
main82131-1A360i198505-198704
main82131-1A370i198505-198707
main82131-1A380i198505-198704
main82131-1E300i198611-198704
W/DIM DIP LIGHT SYSTEM
82134WIRE, COWL, NO.4
main82134-12050i198305-198704
main82134-12060i198305-198707
82210CFUSIBLE LINK
main90982-08188i198305-198704
30A,TERM.:FEMALE,PNK,30A
main90982-08188i198308-198707
30A,TERM.:FEMALE,PNK,30A,RTR
main90982-08190i198305-198704
60A,TERM.:FEMALE,YEL,60A
main90982-08203i198308-198707
80A,TERM.:MALE,BLK,80A
main90982-08223i198308-198707
30A,TERM.:MALE,PNK,30A,AM2
82221WIRE, OIL PRESSURE SWITCH
main82221-16010i198305-198704
82259WIRE, DISTRIBUTOR
main82259-12060i198305-198704
82345DIODE
main82345-12020i198505-198704
2 POLE CONNECTOR
main82345-12050i198505-198707
2 POLE CONNECTOR
main82345-22010i198505-198707
4 POLE CONNECTOR
82817PROTECTOR, WIRING HARNESS, NO.1
main82817-32010i198305-198707
82821ACOVER, CONNECTOR
main82821-12210i198505-198704
82823CAP, TERMINAL, NO.1
main82823-14040i198308-198505
main82823-17010i198608-198704
main82823-22060i198608-198707
8401SWITCH & RELAY & COMPUTER
8282212010BRACKET,CONNECTOR BLOCK
9011906005
9011906234
9011910138

20 parts on this diagram · 5 diagrams in section

WIRING & CLAMP — Toyota Parts Diagram with OEM Numbers & Prices | EPC Data