E
EPC Data

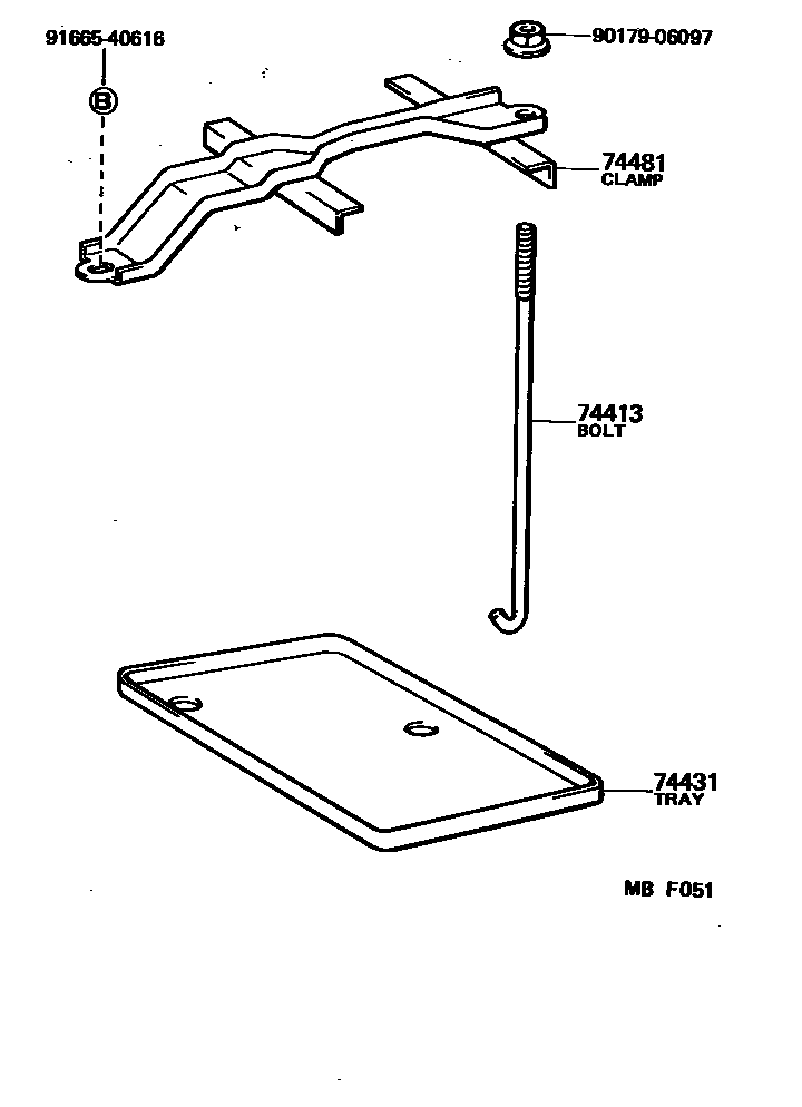
BATTERY CARRIER

Parts diagram
74413BOLT, BATTERY CLAMP
main74451-14010i198305-198707
74431TRAY, BATTERY
main74431-14010i198305-198707
34B19L(NS40ZAL)
main74431-14020i198305-198707
32C24L(N40L),46B24L(NS60L)
main74431-14030i198308-198704
55D23L
74481CLAMP, BATTERY HOLD DOWN
main74404-12190i198308-198704
46B24L(NS60L)
main74404-12190i198305-198707
34B19L(NS40ZAL)
main74404-12200i198305-198707
32C24L(N40L)
main74404-12210i198308-198704
55D23L
9017906097
9166540616

5 parts on this diagram · 1 diagram in section

BATTERY CARRIER — Toyota Parts Diagram with OEM Numbers & Prices | EPC Data