E
EPC Data

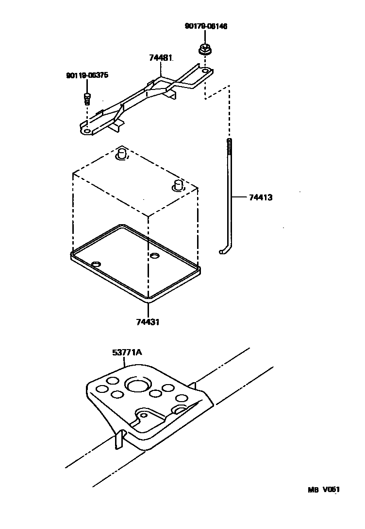
BATTERY CARRIER

Parts diagram
53771ASUPPORT, BATTERY CARRIER
main53771-12100i199009-199308
74413BOLT, BATTERY CLAMP
main74451-12050i199009-199308
74431TRAY, BATTERY
main74431-12010i199009-199308
74481CLAMP, BATTERY HOLD DOWN
main74404-12270i199009-199308
9011906375
9017906146

6 parts on this diagram · 1 diagram in section

BATTERY CARRIER — Toyota Parts Diagram with OEM Numbers & Prices | EPC Data